Friday, July 21st, 2023 AT 4:12 AM
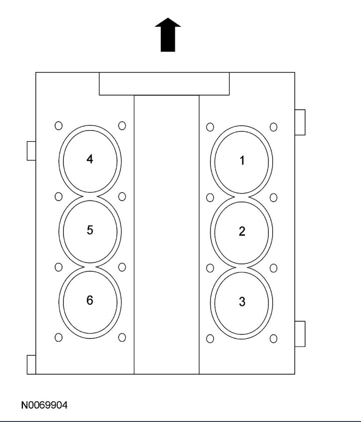
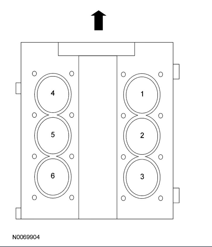
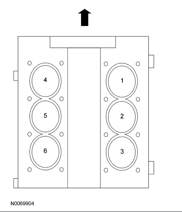
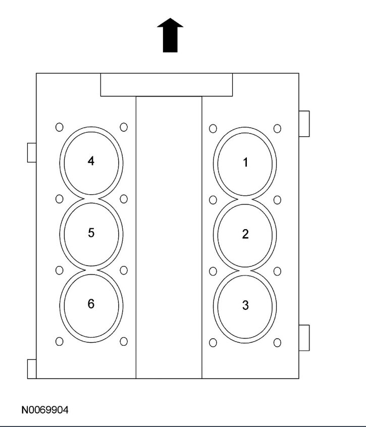
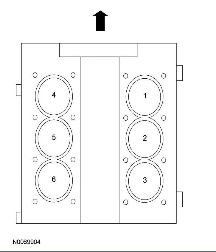
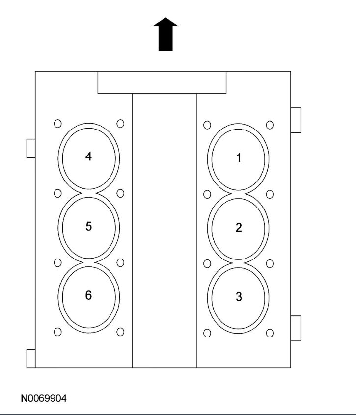
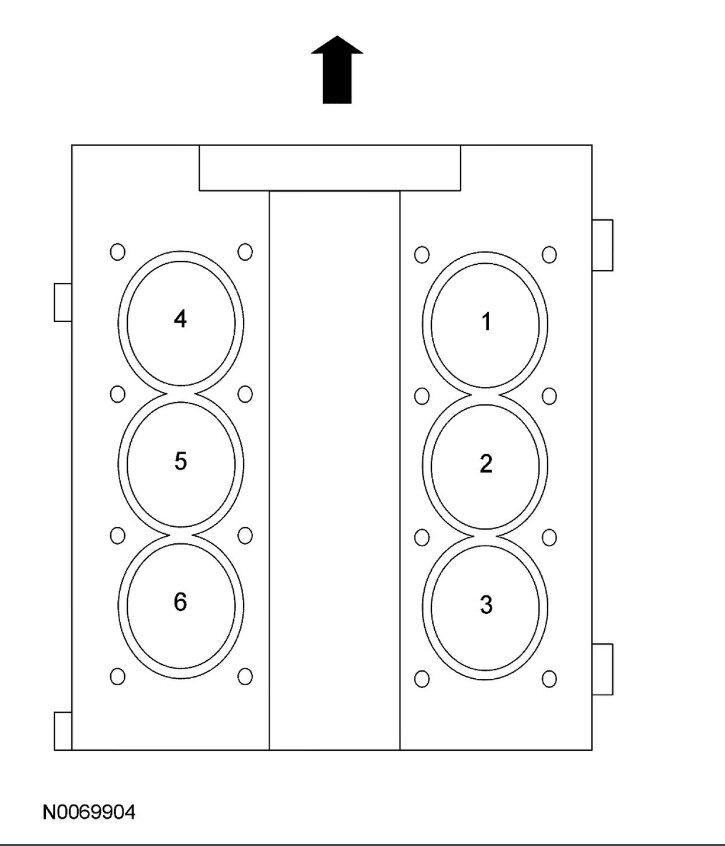
I had my car hooked up to the computer at a couple local car places and the code was P0305, which is cylinder 5 misfire. Okay now, I need to know which cylinder is 5 on my engine and the whole process I will have to go through to change it. I'm not car-dumb, but I haven't worked on an engine in about 20 years, which was a 70' CST C-10 383 Stroker engine back when there were sparkplug wires and distributor caps! (I didn't even know there weren't any anymore and ignition coils had replaced them!) Also, do I need to replace all 6 ignition coils while I'm at it, or just the one misfiring, because I know they are pretty expensive now, does the brand mean a whole lot dealing with them too! Sorry for all the questions all over the place, just don't want to mess my one and only ride up! Thanks y'all!








