Thursday, May 18th, 2023 AT 10:15 PM
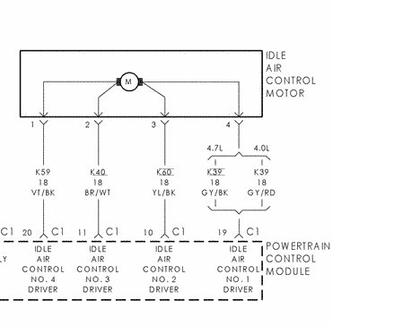
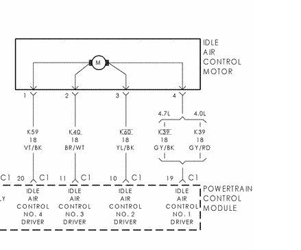
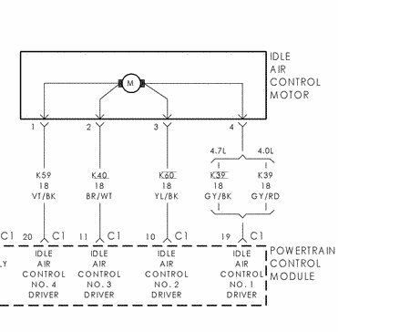
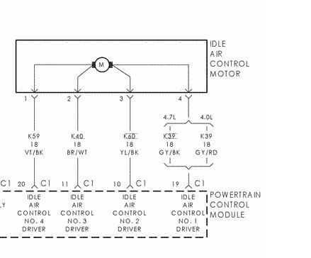
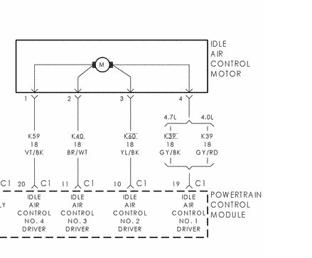
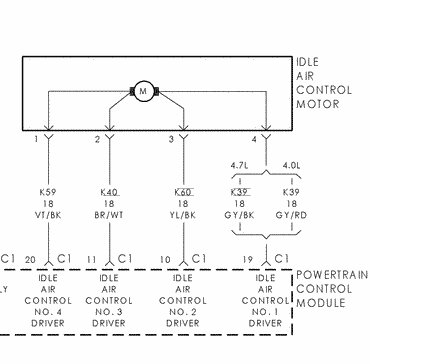
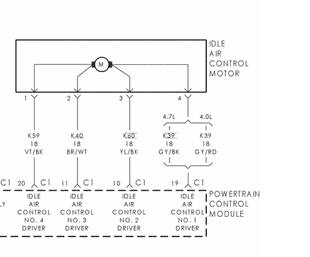
I think somehow the wires coming from the harness to the control valve have been crossed, is there a schematic for the colored 4 wires.





