Glow plug module

Tiny
BBOLTON
  • MEMBER
  • 2011 CHEVROLET SILVERADO
  • 6.6L
  • V8
  • TURBO
  • 4WD
  • AUTOMATIC
  • 89,000 MILES
Throwing a code for glow plug #2 changed all glow plugs. Still throwing a code for #2. Come to find out I’m not getting power to any of the glow plugs but I’m getting power to the module. Do you think the module is bad and if so if I buy from an auto parts store is it already flashed or do I have to spend an extra couple of hundred dollars on that?
Sunday, December 1st, 2019 AT 2:21 PM

5 Replies

Tiny
ASEMASTER6371
  • MECHANIC
  • 52,796 POSTS
Good afternoon,

The glow plugs are controlled by PWM or pulse width modulated signal. You will get no reading from a voltmeter with this check.

Check the wire from number 2 back to the controller and make sure it is not open. If the wire is intact then good chance the controller failed from the glow plug failure.

Yes, it has to be programmed as it is a module with serial data lines.

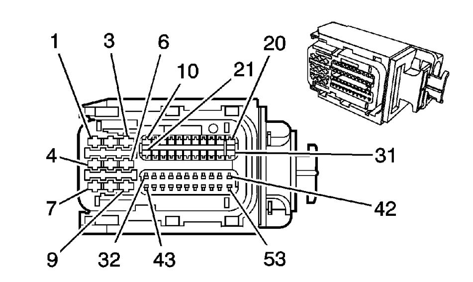
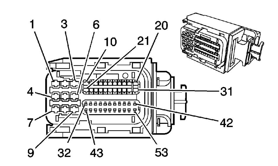
Check the wire first. I attached a connector diagram for you to view. Verify your powers to the module. There are 2.

Roy

A normal functioning system operates as follows:

Turn the ignition ON with the engine OFF, and at room temperature.
The glow plugs turn ON and heat up in 2 seconds and then are pulse-width modulated (PWM) for another 2 seconds.
The glow plug wait lamp is ON for 1 second during cold start.
The glow plug wait lamp may not illuminate during a warm engine start.
If the engine is cranked during or after the above sequence, the glow plugs may cycle ON and OFF after the ignition switch is returned from the start position, whether the engine starts or not. The engine does not have to be running to terminate the glow plug cycling.

The glow plug control module provides glow plug operation after starting a cold engine. This post-start operation is initiated when the ignition switch is returned to Run, from the Start position. This function helps clean up excessive white smoke and/or poor idle quality after starting.

The glow plug initial ON time will vary based on the system voltage and temperature. Lower temperatures cause longer ON times.
Was this
answer
helpful?
Yes
No
Sunday, December 1st, 2019 AT 3:20 PM
Tiny
BBOLTON
  • MEMBER
  • 3 POSTS
So that module only will kick on when it’s cold out? Since I bought the truck a few days ago the glow plug indicator light has not came on what temperature does it have to be for that module to kick on?
Was this
answer
helpful?
Yes
No
Sunday, December 1st, 2019 AT 7:24 PM
Tiny
ASEMASTER6371
  • MECHANIC
  • 52,796 POSTS
It is based on the coolant temperature, not the ambient temperature.

Below 40 degrees is when the system should function.

Did you verify both powers to the module?

Roy
Was this
answer
helpful?
Yes
No
Monday, December 2nd, 2019 AT 5:02 AM
Tiny
BBOLTON
  • MEMBER
  • 3 POSTS
So my glow plug light came on this morning. I have not found the second power module just the one below passenger side valve cover.
Was this
answer
helpful?
Yes
No
Monday, December 2nd, 2019 AT 12:46 PM
Tiny
ASEMASTER6371
  • MECHANIC
  • 52,796 POSTS
There is only 1 module. There are 2 power wires on the module. Check the diagrams I already posted for the power wires.

Roy
Was this
answer
helpful?
Yes
No
Monday, December 2nd, 2019 AT 12:53 PM

Please login or register to post a reply.