Sunday, May 19th, 2019 AT 2:54 PM
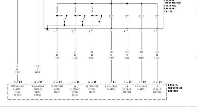
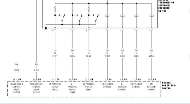
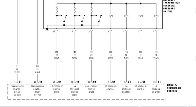
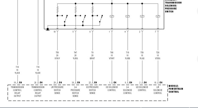
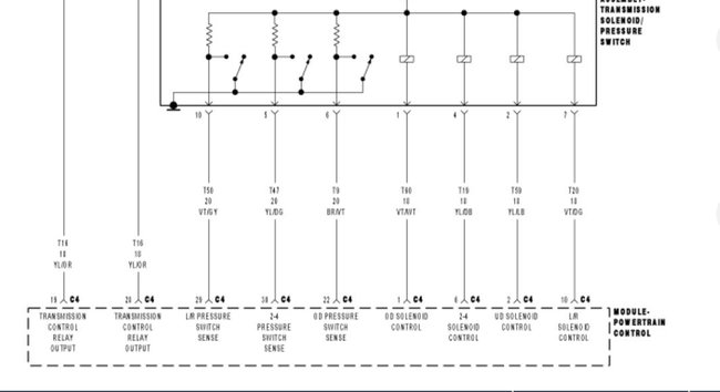
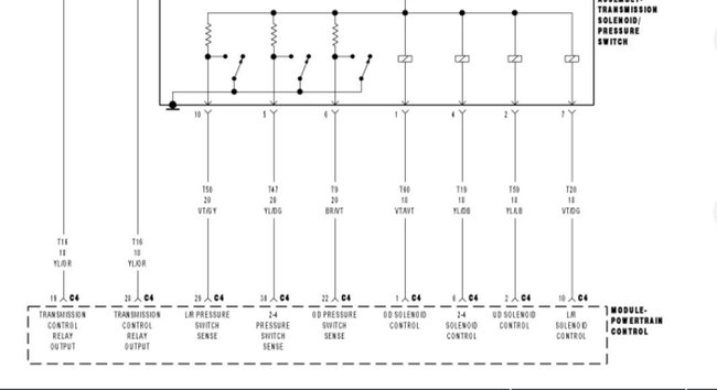
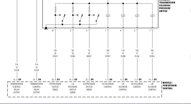
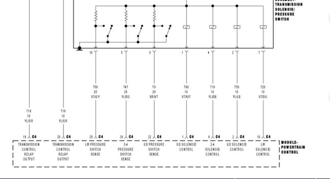
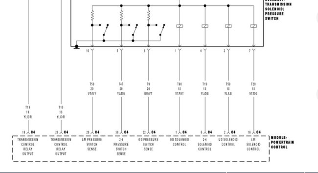
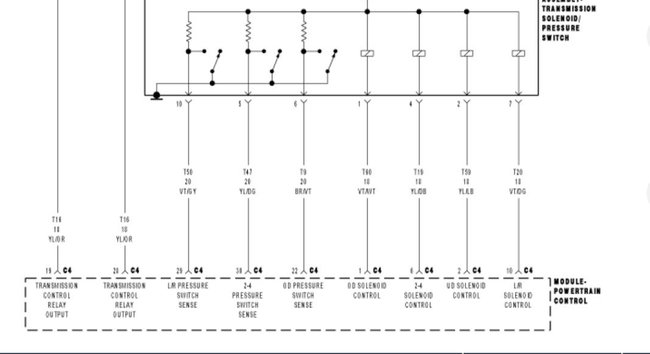
Car is putting out error code p0750 and transmission is going into a limp mode (stays only in second gear will not up or down shift). It’s looking like I may have to replace shift solenoid. But wondering if it may be something else. Same day code was put out lost brake lights. Not sure if they may both be on same circuit or not.






















