Engine vacuum lines diagram needed?

Tiny
GEEZEY1977
  • MEMBER
  • 2004 VOLKSWAGEN BEETLE
  • 2.0L
  • 4 CYL
  • 2WD
  • MANUAL
  • 200,000 MILES
Looking for a diagram of the vacuum lines.
Wednesday, August 16th, 2023 AT 1:34 PM

1 Reply

Tiny
JACOBANDNICKOLAS
  • MECHANIC
  • 110,192 POSTS
Hi,

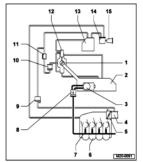
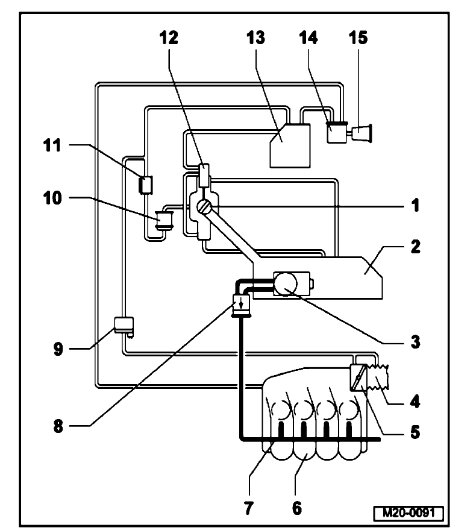
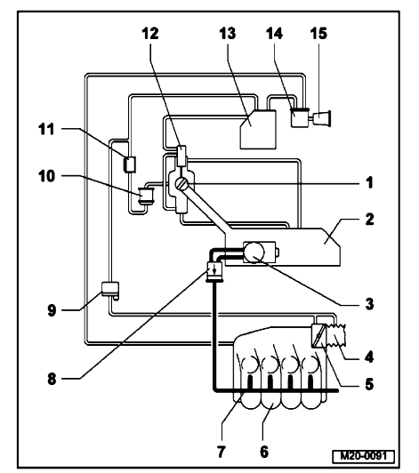
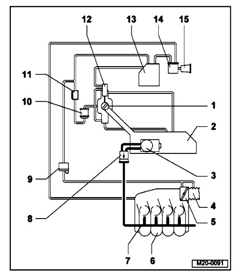
I was able to find a schematic for the vacuum system (EVAP). I attached it below. (See pic 1) Additionally, pic 2 below is the legend for the schematic. Take a look at it and let me know if it helps.

Also, here is a link you may find helpful, it explains how to locate and repair engine vacuum leaks:

https://www.2carpros.com/articles/how-to-use-an-engine-vacuum-gauge

Let me know if this helps.

Take care,

Joe

See pics below.
Was this
answer
helpful?
Yes
No
Wednesday, August 16th, 2023 AT 10:02 PM

Please login or register to post a reply.