Emission solenoid valve location

Tiny
TERRY SNODGRASS
  • MEMBER
  • 2013 CADILLAC XTS
  • AUTOMATIC
  • 86,000 MILES
Where is it located on the car listed above luxury model all wheel drive?
Sunday, December 30th, 2018 AT 6:29 AM

4 Replies

Tiny
ASEMASTER6371
  • MECHANIC
  • 52,796 POSTS
Good morning,

There are many solenoids in the evap system. I need to know exactly what you are referring to or give me the code and I will help you with that.

https://www.2carpros.com/articles/how-emission-control-systems-work

Roy
Was this
answer
helpful?
Yes
No
Sunday, December 30th, 2018 AT 6:35 AM
Tiny
TERRY SNODGRASS
  • MEMBER
  • 2 POSTS
Emission control solenoid valves.
Was this
answer
helpful?
Yes
No
Sunday, December 30th, 2018 AT 6:39 AM
Tiny
ASEMASTER6371
  • MECHANIC
  • 52,796 POSTS
Again, I need to know which one you are referring to as there are many?

Do you have any codes?

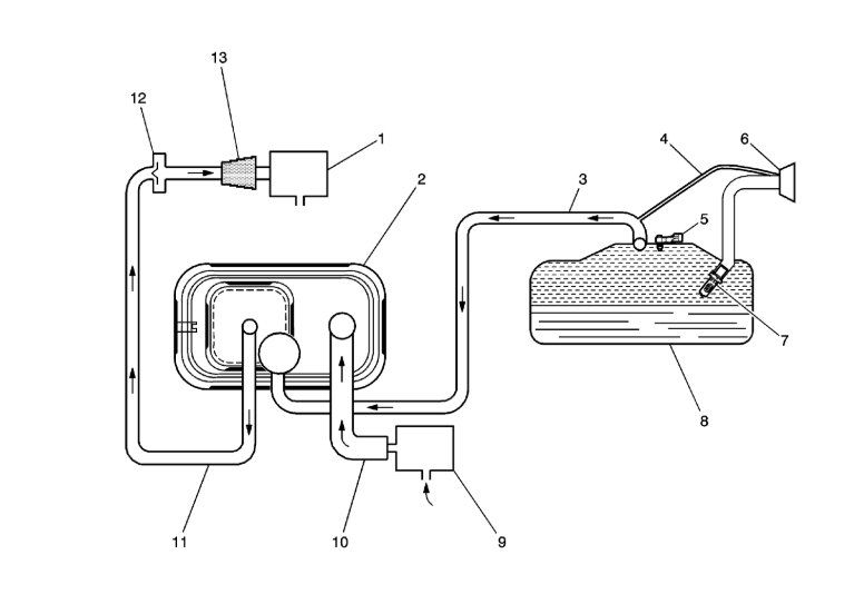
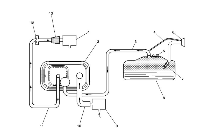
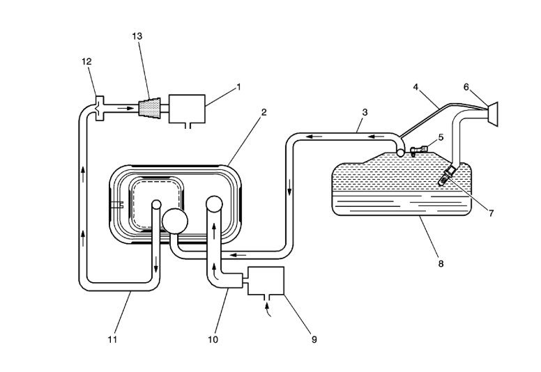
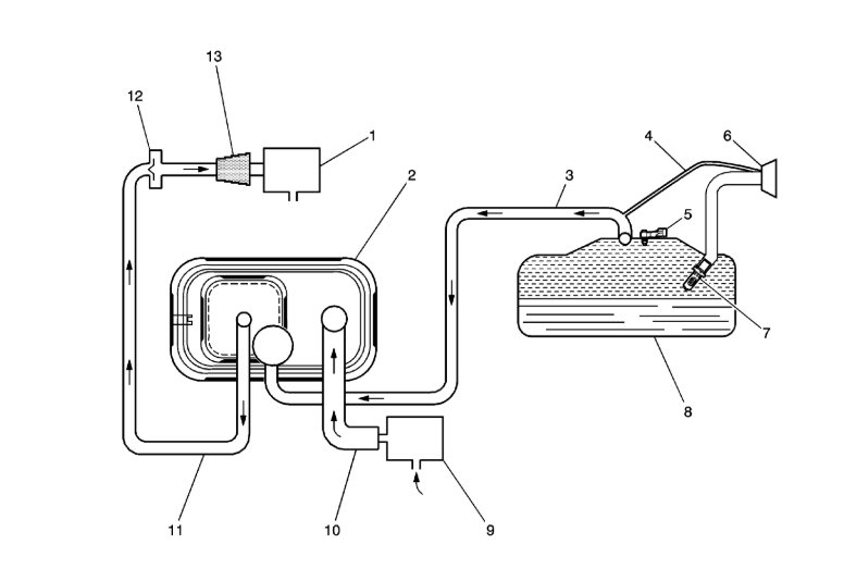
Description of the system

EVAP System Operation

The evaporative emission (EVAP) control system limits fuel vapors from escaping into the atmosphere. Fuel tank vapors are allowed to move from the fuel tank, due to pressure in the tank, through the EVAP vapor tube, into the EVAP canister. Carbon in the canister absorbs and stores the fuel vapors. Excess pressure is vented through the vent hose and EVAP vent solenoid valve to the atmosphere. The EVAP canister stores the fuel vapors until the engine is able to use them. At an appropriate time, the engine control module (ECM) will command the EVAP purge solenoid valve ON, allowing engine vacuum to be applied to the EVAP canister. With the normally open EVAP vent solenoid valve OFF, fresh air is drawn through the vent solenoid valve and the vent hose to the EVAP canister. Fresh air is drawn through the canister, pulling fuel vapors from the carbon. The air/fuel vapor mixture continues through the EVAP purge tube and EVAP purge solenoid valve into the intake manifold to be consumed during normal combustion. The ECM uses several tests to determine if the EVAP system is leaking or restricted.

Purge Solenoid Valve Leak Test

If the EVAP purge solenoid valve does not seal properly fuel vapors could enter the engine at an undesired time, causing driveability concerns. The ECM tests for this by commanding the EVAP purge solenoid valve OFF and the vent solenoid valve ON which seals the system. With the engine running, the ECM then monitors the fuel tank pressure (FTP) sensor for an increase in vacuum. The ECM will log a fault if a vacuum develops in the tank under these test conditions.

Large Leak Test

This diagnostic creates a vacuum condition in the EVAP system. When the enabling criteria has been met, the ECM commands the normally open EVAP vent solenoid valve closed and the EVAP purge solenoid valve open, creating a vacuum in the EVAP system. The ECM then monitors the FTP sensor voltage to verify that the system is able to reach a predetermined level of vacuum within a set amount of time. Failure to achieve the expected level of vacuum indicates the presence of a large leak in the EVAP system or a restriction in the purge path. The ECM will log a fault if it detects a weaker than expected vacuum level under these test conditions.

Canister Vent Restriction Test

If the EVAP vent system is restricted, fuel vapors will not be properly purged from the EVAP canister. The ECM tests this by commanding the EVAP purge solenoid valve ON while commanding the EVAP vent solenoid valve OFF, and then monitoring the FTP sensor for an increase in vacuum. If the vacuum increases more than the expected amount, in a set amount of time, a fault will be logged by the ECM.

Small Leak Test

The engine off natural vacuum diagnostic is the small-leak detection diagnostic for the EVAP system. The engine off natural vacuum diagnostic monitors the EVAP system pressure with the ignition OFF. Because of this, it may be normal for the ECM to remain active for up to 40 min after the ignition is turned OFF. This is important to remember when performing a parasitic draw test on vehicles equipped with engine off natural vacuum.

When the vehicle is driven, the temperature rises in the tank due to heat transfer from the exhaust system. After the vehicle is parked, the temperature in the tank continues to rise for a period of time, then starts to drop. The engine off natural vacuum diagnostic relies on this temperature change, and the corresponding pressure change in a sealed system, to determine if an EVAP system leak is present.

The engine off natural vacuum diagnostic is designed to detect leaks as small as 0.51 mm (0.020 in).

EVAP System Components

The EVAP system consists of the following components:

EVAP Purge Solenoid Valve

The EVAP purge solenoid valve controls the flow of vapors from the EVAP system to the intake manifold. The purge solenoid valve opens when commanded ON by the ECM. This normally closed valve is pulse width modulated (PWM) by the ECM to precisely control the flow of fuel vapor to the engine. The valve will also be opened during some portions of the EVAP testing when the engine is running, allowing engine vacuum to enter the EVAP system.

Purge Tube Check Valve

Turbocharged vehicles have a check valve in the purge tube between the EVAP purge solenoid valve and the EVAP canister to prevent pressurization of the EVAP system under boost conditions. Note that the presence of this one-way check valve prevents pressure testing the EVAP system for leaks at the EVAP canister purge tube connector.

EVAP Canister

The canister is filled with carbon pellets used to absorb and store fuel vapors. Fuel vapor is stored in the canister until the ECM determines that the vapor can be consumed in the normal combustion process.

Vapor Recirculation Tube

A vapor path between the fuel fill pipe and the vapor tube to the carbon canister is necessary for Vehicle Onboard Diagnostics to fully diagnose the EVAP system. It also accommodates service diagnostic procedures by allowing the entire EVAP system to be diagnosed from either end of the system.

Fuel Tank Pressure Sensor

The FTP sensor measures the difference between the pressure or vacuum in the fuel tank and outside air pressure. The ECM provides a 5 V reference and a ground to the FTP sensor. Depending on the vehicle, the sensor can be located in the vapor space on top of the fuel tank, in the vapor tube between the canister and the tank, or on the EVAP canister. The FTP sensor provides a signal voltage back to the ECM that can vary between 0.1-4.9 V. A high FTP sensor voltage indicates a low fuel tank pressure or vacuum. A low FTP sensor voltage indicates a high fuel tank pressure.

Fuel Fill Pipe Check Valve

The check valve on the fuel fill pipe is there to prevent spit-back during refueling.

EVAP Vent Solenoid Valve

The EVAP vent solenoid valve controls fresh airflow into the EVAP canister. The valve is normally open. The canister vent solenoid valve is closed only during EVAP system tests performed by the ECM.

Fuel Fill Cap

The fuel fill cap is equipped with a seal and a vacuum relief valve.

Capless Fuel Fill

Some vehicles may have a capless fuel fill design behind a locking fuel door. There is no fuel fill cap to remove. One just fully inserts the fuel nozzle into the fill neck, making sure it latches before refueling. Flapper valves close to seal this interface once the fill nozzle is removed.

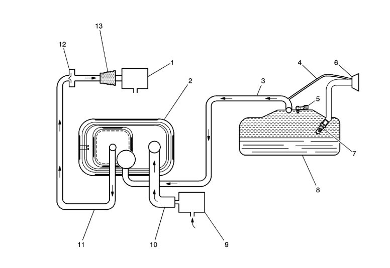
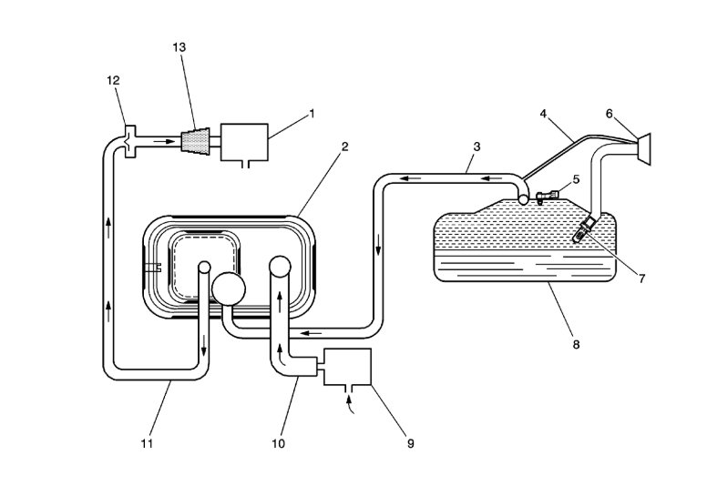
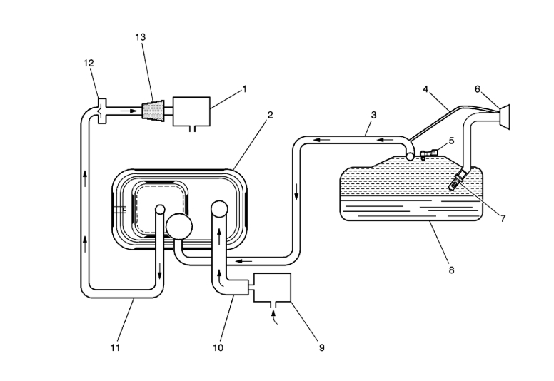
This is for the diagram identifications

1 - Evaporative Emissions (EVAP) Purge Solenoid Valve

2 - EVAP Canister

3 - EVAP Vapor Tube

4 - Vapor Recirculation Tube

5 - Fuel Tank Pressure Sensor

6 - Fuel Filler Cap (Some Vehicles May Have A Capless Design)

7 - Fuel Fill Pipe Inlet Check Valve

8 - Fuel Tank

9 - EVAP Canister Vent Solenoid Valve

10 - Vent hose

11 - EVAP Purge Tube

12 - Purge Tube Check Valve, Turbo-Charged Applications Only

13 - EVAP Canister Purge Tube Connector

Roy
Was this
answer
helpful?
Yes
No
+2
Sunday, December 30th, 2018 AT 6:56 AM
Tiny
ASEMASTER6371
  • MECHANIC
  • 52,796 POSTS
Here are the two most popular solenoids that fail.

Roy
Was this
answer
helpful?
Yes
No
+5
Sunday, December 30th, 2018 AT 7:13 AM

Please login or register to post a reply.