Each window power sometimes works or will not

Tiny
HARLOS
  • MEMBER
  • 2002 CHEVROLET BLAZER
  • V6
  • 4WD
  • AUTOMATIC
  • 80,000 MILES
Passenger door window will operate from drivers door only. Back seat windows roll down from back seat but not up from back seat but they will from drivers seat. Are there separate fuses or where is the circuit breaker located?
Saturday, May 9th, 2020 AT 10:05 AM

2 Replies

Tiny
CARADIODOC
  • MECHANIC
  • 34,449 POSTS
This isn't a fuse issue because parts of the system are working. Everything would be dead from all switches if the circuit breaker had tripped.

There's two common things to consider. First let me describe one common misconception. When you have a passenger window that will not move one way from only one switch, it can be the inoperative switch or the working switch that is the cause. To try to lessen the confusion, if the window works both ways from the driver's master switch, but only rolls down from the left rear passenger's switch, either the passenger's or the driver's switch could be at fault. This is because there's actually four sets of contacts in each switch. Two of them in the passenger's switch are in use, even though that switch is released, when the driver's switch is activated. It's those released contacts that are just as likely to cause the problem, but it will only affect operation one way, not both up and down.

The other, and better suspect for now is broken or frayed wires between the door hinges. If you can observe the dead window function intermittently works properly when you open or move a door, that is pretty good proof of a broken wire. You'll have to pull the rubber boot back to inspect the wires. If you find that is the cause, I'll describe how I handled them at the dealership.

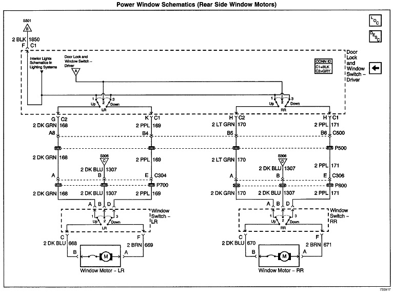
If the wires look okay, I'll find the wiring diagram and format it with some details on how we can diagnose this. Sometimes the fastest way to eliminate or identify a switch as the cause is to just pop in a different one to try. In the case of rear passenger switches, you can take the right one off the door and plug it in on the left side. The front switch might also be the same.
Was this
answer
helpful?
Yes
No
Saturday, May 9th, 2020 AT 5:11 PM
Tiny
HARLOS
  • MEMBER
  • 2 POSTS
Thank you, I'll give it a try.
Stay safe!
Was this
answer
helpful?
Yes
No
Saturday, May 9th, 2020 AT 5:20 PM

Please login or register to post a reply.