Sunday, September 9th, 2007 AT 9:05 AM
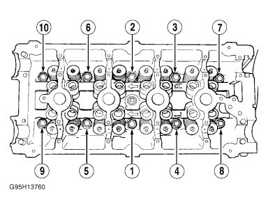
Hi, I am trying to install a head on my 200 dodge neon. It has a 2.0 ltr engine and 128,000 miles on it. I am having trouble trying to find out the order to torque down the screw and what to torque them at. I know that you have to torque tem down in a certain order at one number of lbs. First and then go back and torque again at the last lbs. Setting.





