Defroster not working

Tiny
ADDLEDDRAGON
  • MEMBER
  • 1989 CHEVROLET VAN
  • V8
  • 2WD
  • 125,000 MILES
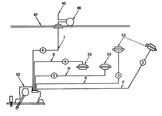
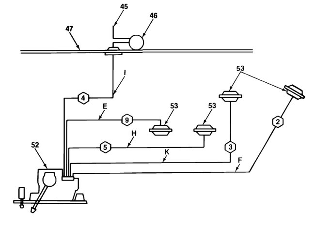
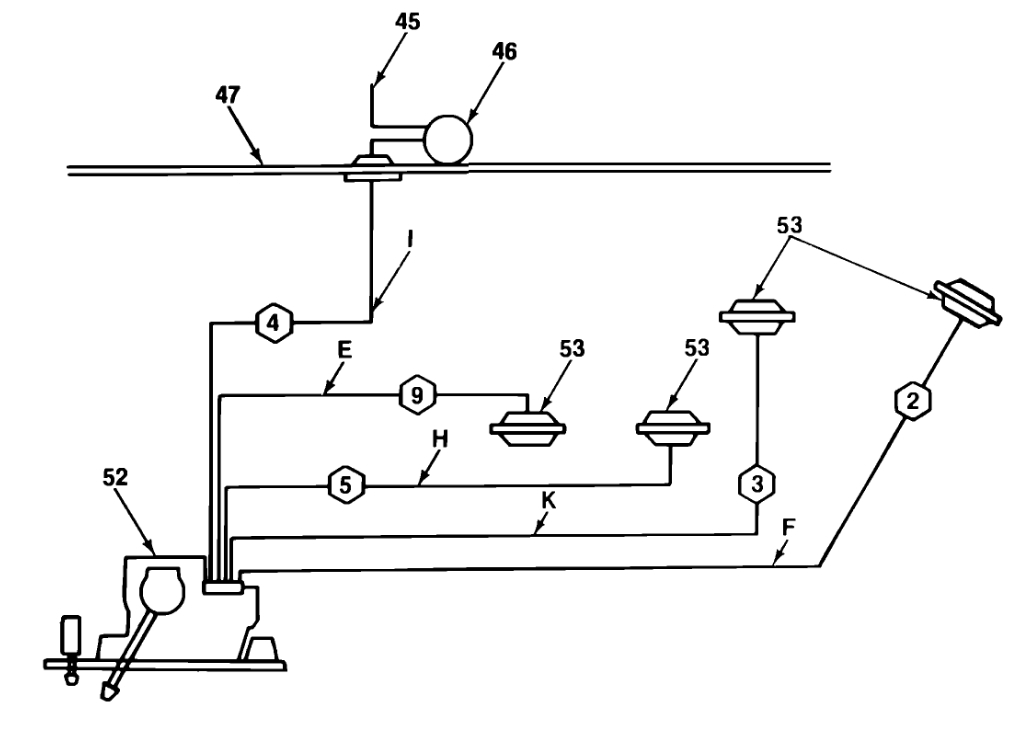
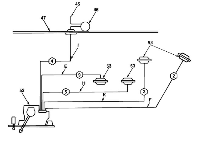
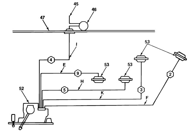
There is no air coming through the defrost vents. The blower motor is working just fine, and I am able to regulate temperature. The air just comes out of the front vents, regardless of setting. Moving the vent position lever is smooth, no audible clicking or resistance of any kind. Can I get an HVAC system diagram? Where is the blend door located? Is there a diagram with the location of all of the solenoids involved in the HVAC system available?
Thank you.
Friday, February 22nd, 2019 AT 10:26 PM

1 Reply

Tiny
SCGRANTURISMO
  • MECHANIC
  • 4,897 POSTS
Hello,

This could be a vacuum problem. In the diagrams below I have included a troubleshooting chart and vacuum diagrams for your vehicle. Go through them and let us know what you find out.

Thanks,
Alex
2CarPros
Was this
answer
helpful?
Yes
No
Saturday, February 23rd, 2019 AT 12:39 AM

Please login or register to post a reply.