I just want to get the engine running?

Tiny
MRBABIST
  • MEMBER
  • 1973 FORD F-250
  • V8
  • 4WD
  • MANUAL
  • 100 MILES
Fe 390 brand new I just want to get the engine running. It has HEI red cap distributor. I can't get any fire it has juice and gas and it'll crank. Dash wires and engine wires' mixed-up plugs missing.
Tuesday, November 29th, 2022 AT 7:26 AM

1 Reply

Tiny
KEN L
  • MASTER CERTIFIED MECHANIC
  • 55,420 POSTS
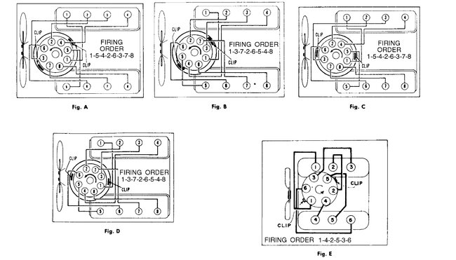
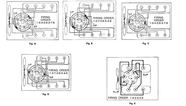
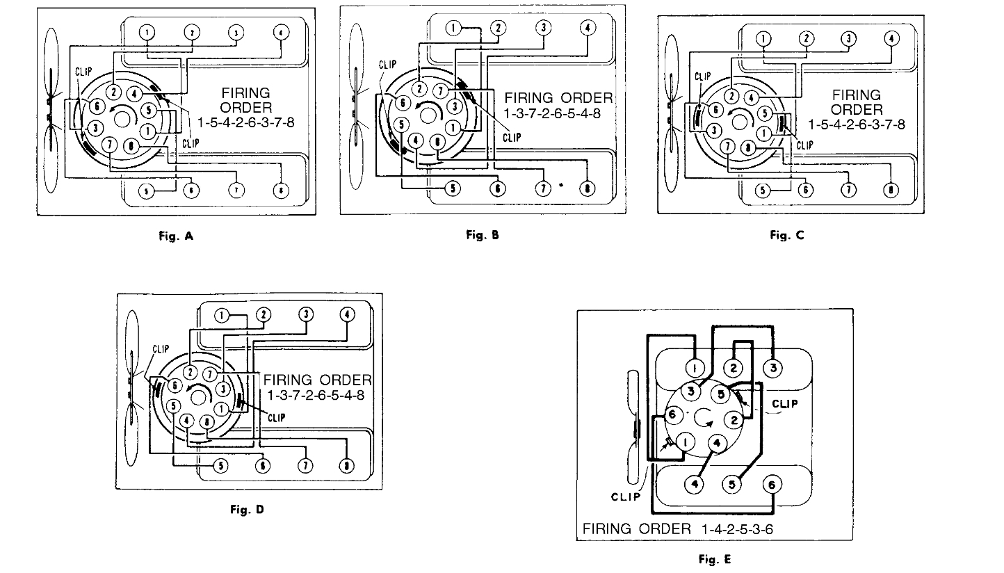
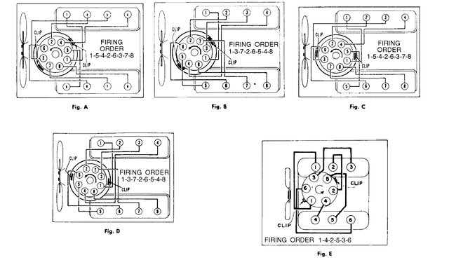
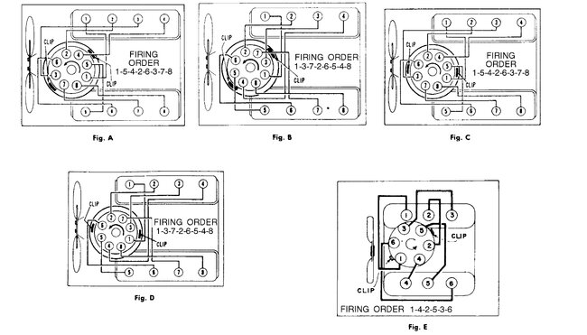
This might help, it is hard to say what you need maybe you can upload some images of the problems so we can help. Check the plug wire firing order in the images below.

1 - B.T.D.C.-Before top dead center.
2 - Idle speed on man. Trans. Vehicles is adjusted in Neutral & on auto. Trans. Vehicles is adjusted in Drive unless otherwise specified. Where two idle speeds are listed, the higher speed is with the A/C or idle solenoid energized.
3 - Except calibration code O-52S-R1O, 10° BTDC; calibration code 0-52S-R10, 6° BTDC.
4 - Except 4-wheel drive models.
5 - 4-wheel drive models.
6 - Refer to engine calibration code on engine identification label, located at rear of left valve cover on V8 engines, on front of valve cover on 6-cylinder engines. The calibration code is located on the label after the engine code number and is preceded by the letter C and the revision code is located below the calibration code and is preceded by the letter R.
7 - Calibration code 0-54T-R0, 12° BTDC; calibration code 0-54T-R10, 8° BTDC.
8 - Models w/3 spd. Or 4 spd. Overdrive man. Trans, 2° BTDC; models w/4 spd. Man. Trans, 4° BTDC.
9 - Models w/3 spd. Or 4 spd. Overdrive man. Trans, 550/800 RPM; models w/4 spd. Man. Trans, 750 RPM.
10 - Windsor engine.
11 - Calibration code 0-54D-R0, 14° BTDC; 0-54D-R11, 12° BTDC; 0-54F-R0 & 0-54M-R0, 8° BTDC.
12 - Calibration code 0-54M-R0, 8° BTDC; 0-54R-R0, 10° BTDC.
13 - Models w/3 spd. Or 4 spd. Overdrive man. Trans, 6° BTDC; models w/4 spd. Man. Trans, 8° BTDC.
14 - Calibration code 7-76J-R11.
15 - Modified engine.
16 - Except high altitude.
17 - Calibration codes 0-64A-R0, R10 & R11.
18 - Calibration codes 0-64B-R0 & R10.
19 - Calibration codes 0-64T-R0, R10 & R11.
20 - Calibration code 0-64B-R11.
21 - Calibration codes 0-64G-R0, R10 & R11.
22 - Calibration codes 0-64H-R0, R10 a R11.
23 - Calibration codes 0-60D-R0 & R10.
24 - Mechanical fuel pump
25 - BSF-42 or BRF-42.
26 - BRF-31-4 or BSF-31-4.
27 - ASF-52 or ARF-52.
28 - ASF-42 or ARF-42.
29 - E-100 California models w/2.75 rear axle ratio, set at 500/650D.
30 - Man. Trans, except Calif. Models w/3.50 or 3.54 axle ratio 10° BTDC; California models w/3.50 or 3.54 axle ratio, 8° BTDC.
31 - ASF-32 or ARF-32.
32 - BYSF-31-4 or BYRF-31-4.
33 - Except Calibration code 8-52L-R12, 10° BTDC; calibration code 8-52L-R12, 12° BTDC.
34 - BSF-31-5 or BSF-42.
35 - Models equipped w/Thermactor pump.
36 - Models less Thermactor pump.
37 - Early 1978 models.
38 - Late 1978 models.
39 - With dual mode switch disconnected from ignition module.
40 - ASF-42 or ASF-34.
41 - Calibration code 7-53H-R0, set at 8° BTDC; calibration code 7-53H-R10, set at 4° BTDC.
42 - Must refer to engine decal due to running production changes.
43 - Calibration codes 7-53G-R0, 7-53G-R10 & 7-53G-R11, set at 6° BTDC; calibration code 7-53G-R17, set at 2° BTDC.
44 - Calibration code 7-54K-R0, set at 8° BTDC; calibration code 7-54K-R15, set at 4° BTDC.
45 - Calibration code 7-14A-R1, set at 10° BTDC; calibration codes 7-14A-R10, 7-14B-R10 & 7-14C-R11 set at 9° BTDC.
46 - Calibration codes 7-14N-R0 & 7-14N-R12, set at 8° BTDC; calibration codes 7-14N-R13 & 7-14N-R17, set at 6° BTDC.
47 - Calibration codes 7-60G-R0 & 7-60G-R10, set at 10° BTDC; calibration code 7-60G-R11, set at 6° BTDC.
48 - Except Calibration code 7-60G-R0, set at 600D RPM; calibration code 7-60G-R0, set at 650D RPM.
49 - Calibration code 7-72-R0, set at 12° BTDC; calibration code 7-72-R10, set at 14° BTDC.
50 - Calibration code 7-72J-R0, set at 12° BTDC; calibration codes 7-72J-R1 & 7-72J-R11, set at 10° BTDC.
51 - Calibration code 7-86C-R0.
52 - Calibration code 5-86A-R0.
53 - Calibration codes 7-17B-R1, 7-37A-R0 & 7-37A-R1, 8° BTDC; 7-17B-R1, 12° BTDC; 7-17B-R16, 10° BTDC; 7-17C-R1, 6° BTDC.
54 - Except calibration codes, 7-37A-R0 & 7-37A-R1, set at 600D RPM; calibration codes 7-37A-R0 & 7-37A-R1, 650D RPM.
55 - Breaker point gap, .024" dwell angle, 33°-39°.
56 - Breaker point gap, .017" dwell angle, 24°-30°.
57 - Calibration codes except Calif, man. Trans. 5-75A-R4, auto. Trans. 5-76A-R6; California, man. Trans. 5-75J-R6, auto. Trans. 5-76J-R8.
58 - Calibration codes, except Calif, man. Trans. 5-75A-R6, auto. Trans. 5-76A-R6; California, man. Trans. 5-75J-R7, auto. Trans. 5-76J-R9.
59 - Calibration codes, except Calif, man. Trans. 5-75A-R3, auto. Trans. 5-76A-R5; California, man. Trans. 5-75J-15, auto. Trans. 5-761- R7.
60 - Calibration codes, man. Trans. 5-83J-R3, R4; auto. Trans. 5-84J-R7, R8.
61 - Calibration codes, man. Trans. 5-83J-R2; auto. Trans. 5-84J-R6.
62 - Cylinder numbering front to rear, firing order 1-5-3-6-2-4.
63 - Cylinder numbering (front to rear), right bank 1-2-3-4, left bank 5-6-7-8; firing order 1-5-4-2-6-3-7-8.
64 - Cylinder numbering (front to rear), right bank 1-2-3-4, left bank 5-6-7-8; firing order 1-5-4-8-6-3-7-2.
65 - E series, 6-8 psi; F series, 5-7 psi.
66 - Ranchero, 5-7 psi; F a Bronco, except Calif, 4-6 psi; California, 5-7 psi.
67 - Models w/breaker point type ignition, point gap, .017-in; dwell angle, 26-30°.
68 - Models w/breakerless ignition.
69 - F100 & Bronco except Calif, 4-6 psi; E series & California F-100 & Bronco, 5-6 psi.
70 - Cleveland engine.
71 - Man. Trans. Models, breaker point gap, both sets.020 in; dwell angle both sets operating 32-35°. Auto. Trans. Models, breaker point gap.017 in; dwell angle, 24-30°.
72 - Models w/G.V.W.R. 6000 lbs. & Under.
73 - Models w/G.V.W.R. 6000 lbs. & Above.
74 - Breaker paint gap, .027 in; dwell angle, 33-39°.
75 - Refer to engine calibration code on engine identification label, located at left rear of valve cover.
76 - Calibration codes, man. Trans, 3-10C-R7; auto. Trans, 3-11C-R9 & 3-11C-R16.
77 - Calibration codes, man. Trans, 3-10C-R5; auto. Trans, 3-11C-R22.
78 - Calibration codes, man. Trans, 3-53C-R3; auto. Trans, 3-54C-R3.
79 - Calibration codes, man. Trans, 3-53C-R5; auto. Trans, 3-54C-R5.
80 - Calibration codes, 3-12-R15, R20, R24 a 3-12D-R5.
81 - Calibration codes, 3-12-R12 & 3-12D-R3.
82 - Calibration code, 3-14C-R9.
83 - Calibration code, 3-14C-R14.
84 - Calibration codes, 3-14C-R15, R15.
85 - Calibration code, 3-17-R6.
86 - Calibration code, 3-17-R15.
87 - Calibration code, 3-17-R14.
88 - Calibration code, 3-18-R12.
89 - Calibration code, 3-18-R14.
90 - Calibration code, 3-18-R23.
91 - Light duty models.
92 - Heavy duty models.
93 - E-100, 150 exc. Calf. Or high alt. Carb. Calibration code 1-64H-R2.
94 - E-250 exc. Calif. Or high alt. Carb. & E-350.
95 - Calibration code 0-62D-R10.
96 - Calibration codes, man. Trans. 9-71J-R10 auto. Trans. 9-72J-R11.
97 - On early 1980 Bronco & F Series, a sight hole located at the upper right hand corner of the fan shroud is used for viewing the pointer when adjusting ignition timing. It is recommended that the timing be set 2° less than the valve observed on the engine damper through the sight hole, due to the angle employed when viewing the pointer.
98 - Calibration codes, man. Trans. 0-59C-R0 & R10; auto. Trans. 0-60A-R0 & R10.
99 - Calibration codes, man, trans. 0-59G-R0 & R10, 0-59H-10 & R10 & 0-59J-R0 & R10; auto. Trans. 0-60B-R0 & R10 & 0-60C-R0 & R10.
100 - Calibration codes, man. Trans. 0-59S-R0; auto. Trans. 0-60G-R0, 0-60H-R11 & 0-60H-R13.
101 - Calibration codes 0-60H-R0, 0-60H-R12, 0-60K-R0, R10, R11, R12 & 0-60J-R0.
102 - Calibration code 0-60L-R10.
103 - Calibration codes, man. Trans. 9-73J-R11; auto. Trans. 9-74J-R11.
104 - Calibration codes, man. Trans. 9-73J-R12; auto. Trans. 9-74J-R12.
105 - Calibration code 0-62L-R0.
106 - If mileage on vehicle is less than 100 mi, set idle speed 50 RPM less than specified.
107 - Models with G.V.W.R. Less than 8500 lbs.
108 - Models with G.V.W.R. 8500 lbs. & Above.
109 - Except calibration codes 9-71J-R10, R11 & 9-72J-R11 & R12.
110 - Calibration codes 9-71J-R10, R11 & 9-72J-R11 & R12.

Check out the images (below). Please let us know what happens.
Was this
answer
helpful?
Yes
No
Tuesday, November 29th, 2022 AT 10:09 AM

Please login or register to post a reply.