Cylinder head Bolt location and torque

Tiny
ROBERTDS5
  • MEMBER
  • 2003 HONDA CIVIC HYBRID
  • 1.3L
  • 4 CYL
  • 220,000 MILES
Where does the longer cylinder head bolt go and what is the torque?
Saturday, November 30th, 2019 AT 9:26 PM

3 Replies

Tiny
JACOBANDNICKOLAS
  • MECHANIC
  • 110,194 POSTS
Hi,

If I recall, it's the first one on outside front of engine. See the attached pic. It is specific for your vehicle and even based on the pic, it appears to be the longer one.

____________________________________________________________

To torque the head, follow these directions. The remaining pics correlate with the directions. This is a process. It isn't tighten and done.

____________________________________________________________

2003 Honda Civic L4-1.3L Hybrid
Cylinder Head Installation
Vehicle Engine, Cooling and Exhaust Engine Cylinder Head Assembly Service and Repair Procedures Cylinder Head Installation
CYLINDER HEAD INSTALLATION
Installation
Install the cylinder head in the reverse order of removal:
1. Clean the cylinder head and block surface.

Pic 2

2. Install the new cylinder head gasket (A) and dowel pins (B) on the cylinder block. Always use a new cylinder head gasket.
3. Check that the crankshaft keyway is facing up.
4. Install the cylinder head on the block.
5. Apply engine oil to the threads and under the bolt heads of all cylinder head bolts.

Pic 3

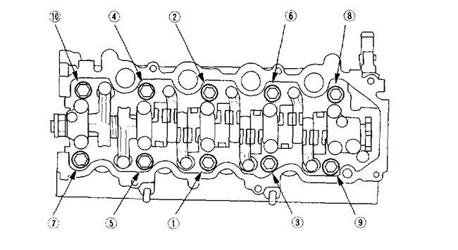
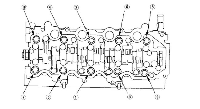
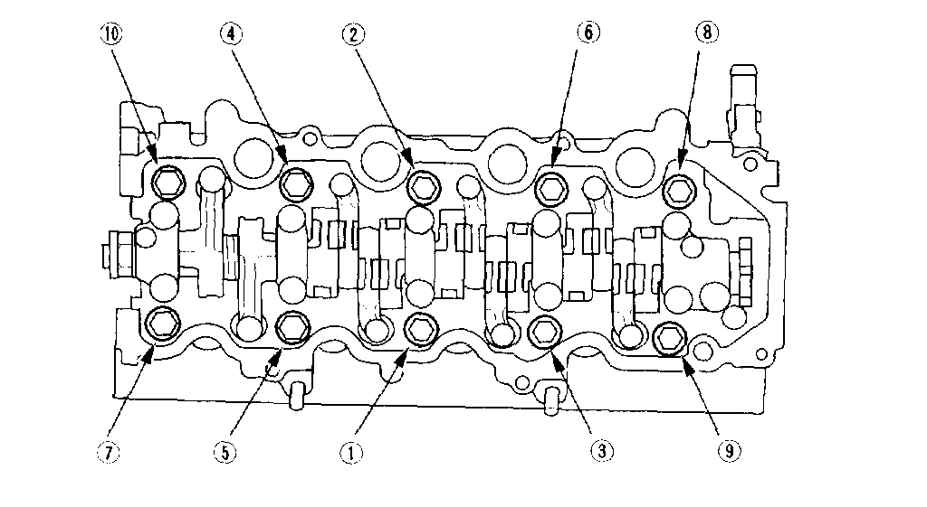
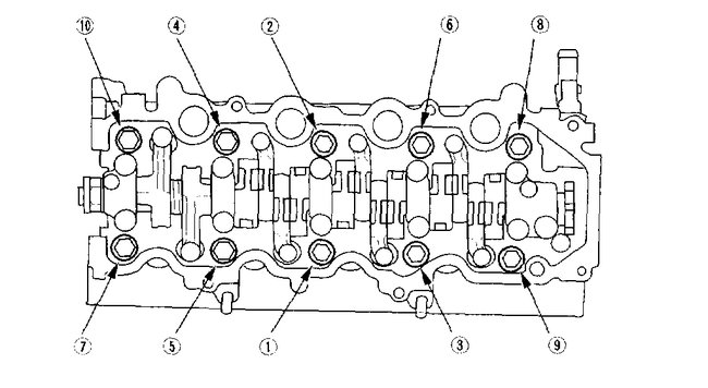
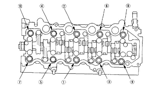
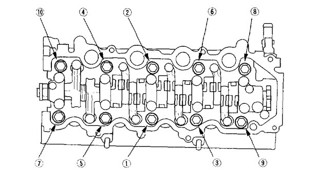
6. Tighten the cylinder head bolts in sequence to 29 Nm (3.0 kgf-cm, 22 ft. Lbs.), Use a beam-type torque wrench. When using a preset-type torque wrench, be sure to tighten slowly and do not overtighten. If a bolt makes any noise while you are torquing it, loosen the bolt and retighten it from the first step.
7. Tighten all cylinder head bolts an additional 130°

____________________________________________________

Make sure to follow the sequence indicated above and in pic 3. If you need help with timing, let me know.

Take care,
Joe
Was this
answer
helpful?
Yes
No
+2
Saturday, November 30th, 2019 AT 10:28 PM
Tiny
ROBERTDS5
  • MEMBER
  • 4 POSTS
Where are timing marks for the chain and how do adjust it? Thanks for your time.
Was this
answer
helpful?
Yes
No
+1
Wednesday, December 4th, 2019 AT 4:57 AM
Tiny
JACOBANDNICKOLAS
  • MECHANIC
  • 110,194 POSTS
Hi,

Here are the directions for installation. The attached pics correlate with the directions.

___________________________________

2003 Honda Civic L4-1.3L Hybrid
Cam Chain Installation
Vehicle Engine, Cooling and Exhaust Engine Timing Components Timing Chain Service and Repair Procedures Cam Chain Installation
CAM CHAIN INSTALLATION
Installation

NOTE: Keep the cam chain away from magnetic fields.

Pic 1

1. Set the crankshaft to top dead center (TDC). Align the TDC mark (A) on the crankshaft sprocket with the pointer (B) on the oil pump.

Pic 2

2. Set the No. 1 piston at TDC. The "UP" mark (A) on the camshaft sprocket should be at the top, and the TDC grooves (B) on the camshaft sprocket should line up with the top edge of the head.

Pic 3

3. Install the cam chain on the crankshaft sprocket with the colored piece (A) aligned with the TDC mark (B) on the crankshaft sprocket.

Pic 4

4. Install the cam chain on the camshaft sprocket with the pointer (A) aligned with the center of the two colored pieces (B).

Pic 5

5. Apply engine oil to the threads of the cam chain tensioner rail mounting bolt (A).
6. Install the cam chain tensioner rail (B) and cam chain guide (C).

Pic 6

7. Install the cam chain tensioner, and tighten the bolt loosely.

Pic 7

8. Apply engine oil to the sliding surface of the cam chain tensioner (A).
9. Turn the cam chain tensioner clockwise to compress the cam chain tensioner rail. Install the remaining bolt, then tighten the bolts.
10. Check the chain case oil seal for damage. If the oil seal is damaged, replace the chain case oil seal.
11. Remove old liquid gasket from the chain case mating surfaces, bolts, and bolt holes.
12. Clean and dry the chain case mating surfaces.

Pic 8

13. Apply liquid gasket, P/N 08718-0009, to the cylinder block mating surface of the chain case and the inner threads of the holes.

NOTE:
Apply a 1.5 mm wide bead of liquid gasket along the broken line (A).
Apply a 3.0 mm wide bead of liquid gasket to the cylinder block upper surface contact areas (B) on the chain case.
Do not install the parts if 5 minutes or more have elapsed since applying liquid gasket. Instead, reapply liquid gasket after removing old residue.

Pic 9

14. Install the pulse plate (A) and chain case (B).

Pic 10

15. Install the upper bracket (A), then tighten the mounting nuts in the numbered sequence shown.
16. Install the ground cable (B).
17. Install the oil pan.
18. Install the crankshaft pulley.
19. Install the cylinder head cover.
20. Install the water pump pulley.
21. Install the drive belt and adjust it.

___________________________________

Let me know if this helps.

Joe
Was this
answer
helpful?
Yes
No
+1
Wednesday, December 4th, 2019 AT 6:51 PM

Please login or register to post a reply.