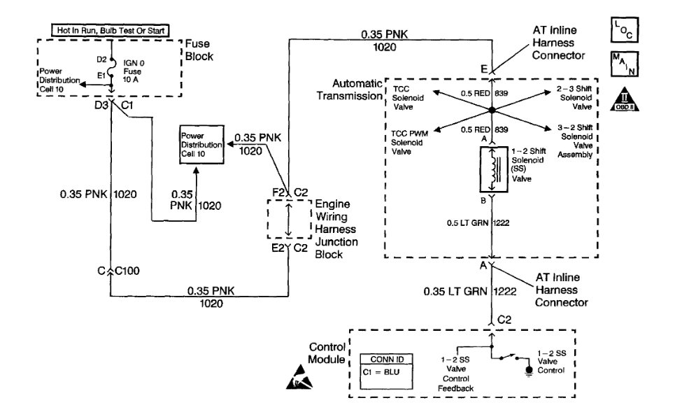
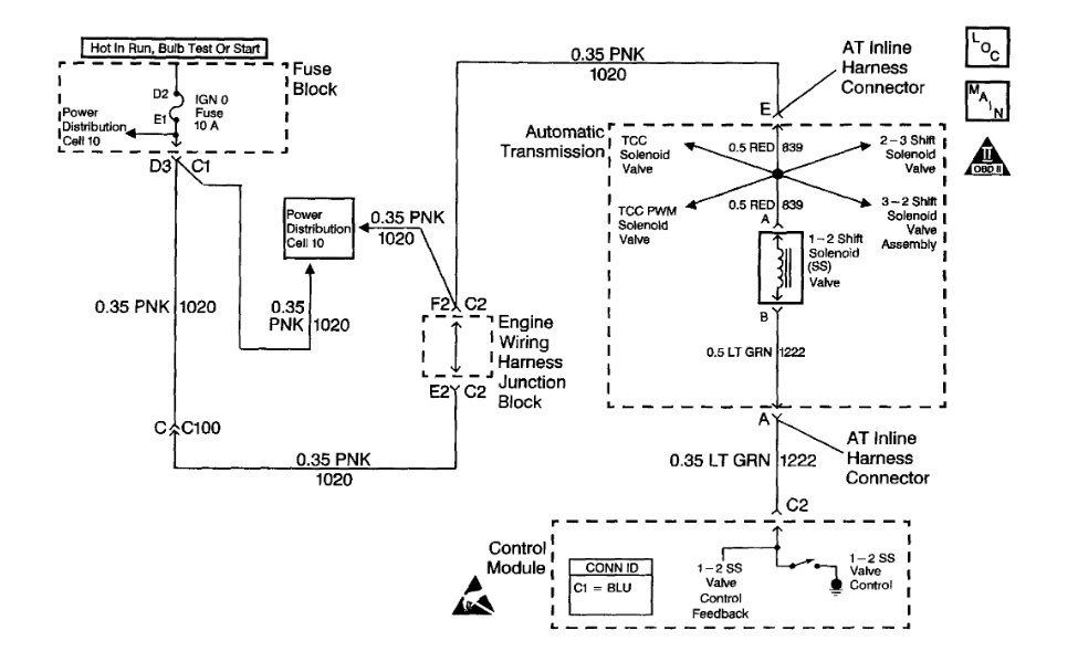
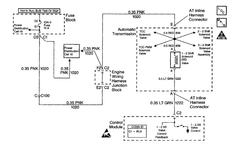
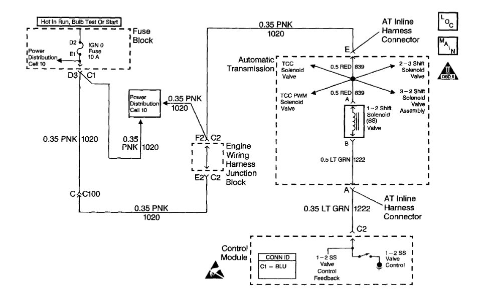
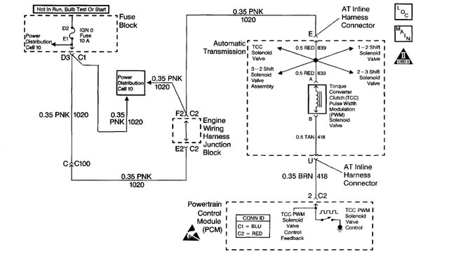
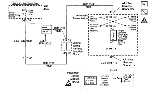
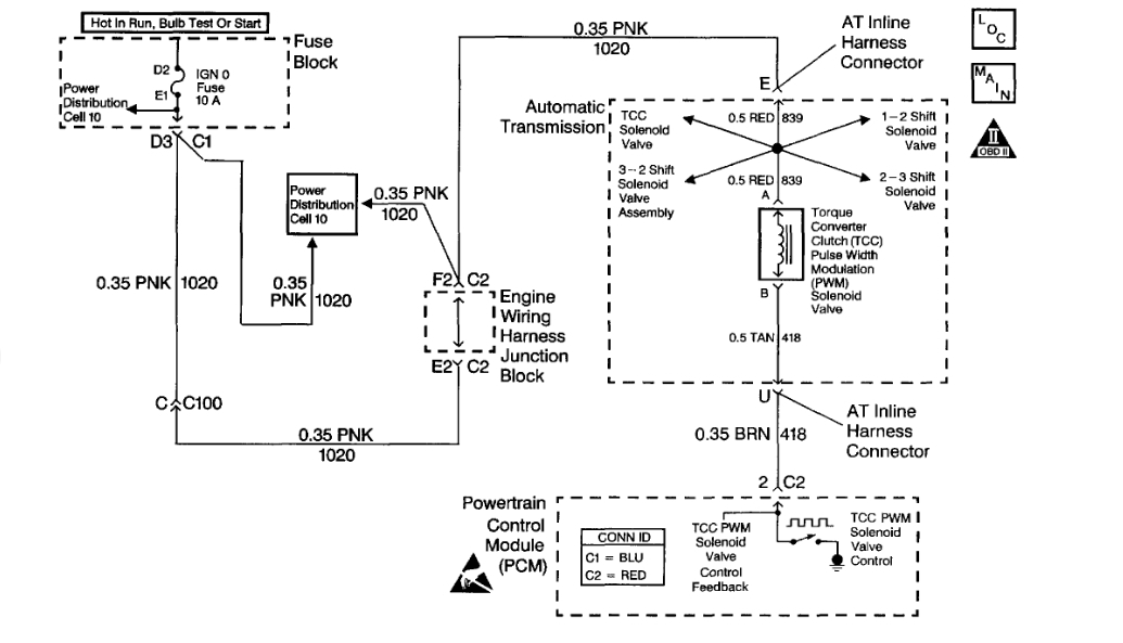
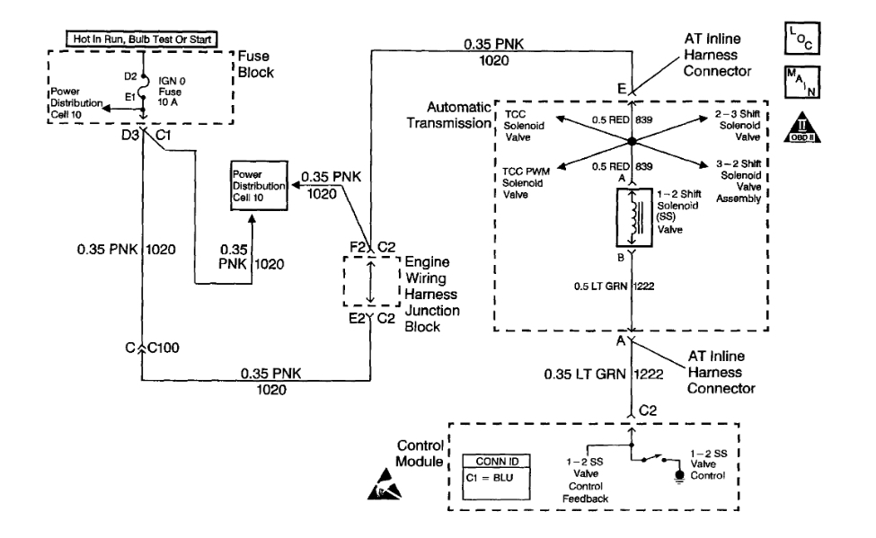
Saturday, April 27th, 2019 AT 10:54 AM
I have changed the switch because there was no power at fuse. That got power to the fuse but it still pops up those codes. It's on limp mode starts in third unless started in first manually the instrument clay works. I'm stuck and would like some advise.































































