HOME
ASK A QUESTION
REPAIR GUIDES
BECOME A MEMBER
LOG IN
Login with Facebook
OR
Remember me
NOT A MEMBER?
FORGOT PASSWORD?
CONTACT US
PRIVACY POLICY
TERMS AND CONDITIONS
☰
Home
Chevrolet
Truck
Engine
Camshaft
Camshaft Sensor
Location
Camshaft position sensor location
HARYDOG49
MEMBER
1998 CHEVROLET TRUCK
V8
4WD
MANUAL
51,347 MILES
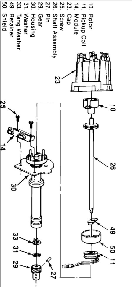
Where is the camshaft position sensor located I cant find it?
Thursday, January 22nd, 2009 AT 3:19 PM
3 Replies
DOCFIXIT
MECHANIC
18,828 POSTS
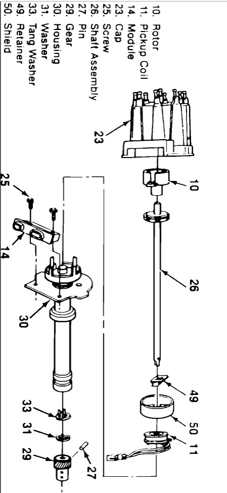
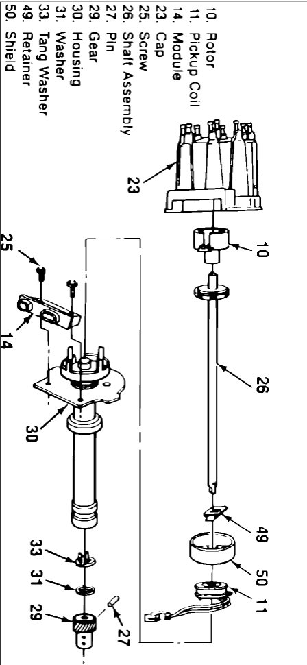
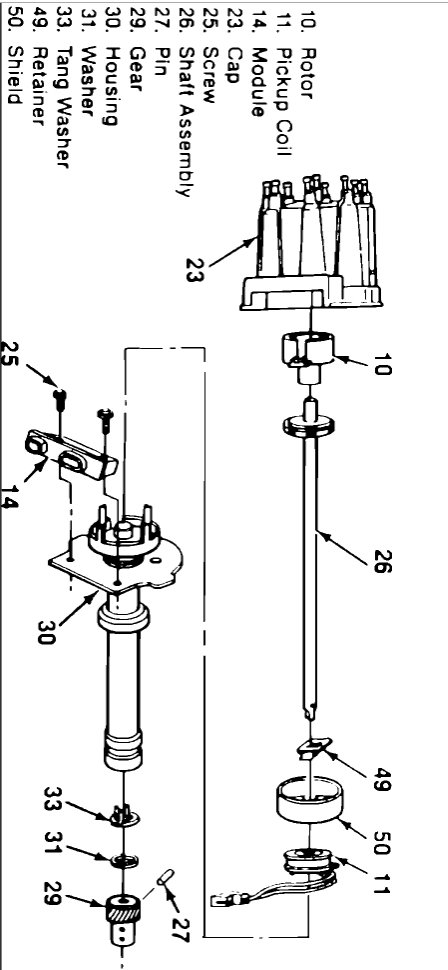
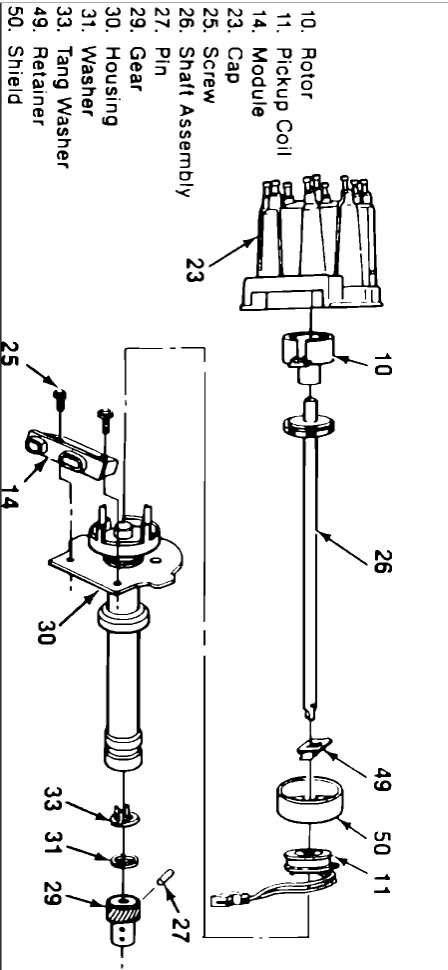
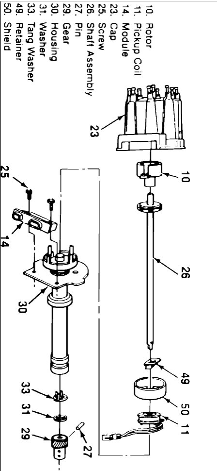
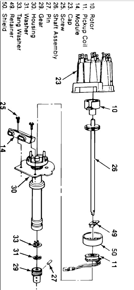
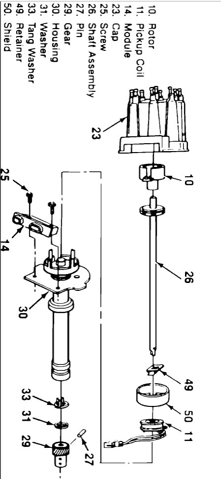
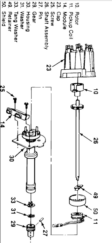
The sensor of the camshaft position is inside the distributor here is a diagram to help you see how to change it below.
Check out the diagrams (Below). Please let us know if you need anything else to get the problem fixed. Cheers
Images (Click to make bigger)
Was this
answer
helpful?
Yes
No
-1
Thursday, January 22nd, 2009 AT 3:31 PM
TRINADALE
MEMBER
1 POST
1998 CHEVROLET TRUCK
How to get sensor out of distributor
Was this
answer
helpful?
Yes
No
+3
Friday, February 26th, 2021 AT 5:59 PM (Merged)
BLUELIGHTNIN6
MECHANIC
16,542 POSTS
Just remove screw and remove the sensor from the distributor.
Was this
answer
helpful?
Yes
No
+5
Friday, February 26th, 2021 AT 5:59 PM (Merged)
Please
login
or
register
to post a reply.
Related Camshaft Camshaft Sensor Location Content
Truck Died Going Down The Road. Would Not Restart Only...
Truck Died Going Down The Road. Would Not Restart Only Attempted To Start Now After Getting It Home It Only Cranks. After Sometime Looking...
Asked by
Jaspers_87
·
3 ANSWERS
1998
CHEVROLET TRUCK
1985 Chevy Truck Engine Timing
I Just Rebuilt My Chevy 350. I Got It Running But Ir Is Backfiring When I Accelerate. I'm Wondering If It Would Be Cost Effective To Have...
Asked by
Bridges
·
1 ANSWER
1985
CHEVROLET TRUCK
1997 Chevy Truck Broken Pushrod
Engine Mechanical Problem 1997 Chevy Truck V8 Four Wheel Drive Automatic 114k Miles I Have A Very Clean 1997 Chev C 3500 I Ton Dually...
Asked by
windwizard
·
3 ANSWERS
1997
CHEVROLET TRUCK
1982 Chevy Truck 1982 350 4 Bolt Chevy Truck (...
Noises Problem 1982 Chevy Truck Four Wheel Drive Manual We Moved From Colorado To Flordia The Truck Runs Better But Just For A Second...
Asked by
townsend08
·
2 ANSWERS
1982
CHEVROLET TRUCK
1998 Chevy Truck Loose Harmonic Balancer And Pulley
I Have A 1998 Chevy Pickup That The Belt Came Off And When Check Why Found Harmonic Balancer Will Move Side To Side Loose But Bolts Are...
Asked by
we live up to our name
·
15 ANSWERS
1998
CHEVROLET TRUCK
VIEW MORE
Ask a Car Question. It's Free!
Check Engine Light Safe to Drive?
Code Read Retrieval/Clear Chevrolet
Code Read Retrieval/Clear Scion