Hello -
Thanks for the info on the engine.
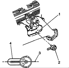
Here is what you need. Although this is for the removal and installation of the heater itself, it will show you where it goes etc.
Removal Procedure

Drain the engine coolant. Refer to Draining and Filling Cooling System.
Remove the heater cord from the engine coolant heater (2).
Loosen the bolt retaining the engine coolant heater to the block.
Remove the engine coolant heater from the engine block.
If the vehicle is not originally equipped with an engine coolant heater, remove the coolant jacket plug.
Carefully tap the coolant plug near the outer edge.
Rotate the coolant plug out of the core plug hole. Do not score the machined surface of the hole.
Grasp the plug with pliers.
Pull the plug from the engine block.
Clean the core plug hole in order to remove the following substances:
Burrs
Compound
Paint
Rough spots
Installation Procedure

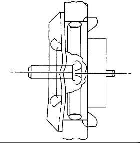
Coat the O-ring seal (2) and the cleaned surface of the plug opening with water resistant high-temperature grease lubricant GM P/N 9985164 or the equivalent. Important: Avoid element contact with the inside walls of the engine block.
Install the coolant heater by pushing tightly into the engine block.

Notice: Refer to Fastener Notice in Service Precautions.
Tighten the bolt on the engine coolant heater until both of the locking wings draw tightly against the inner wall of the engine block.
Tighten the bolt in order to retain the engine coolant heater to the engine block to 2 Nm (18 inch lbs.) .

Important: Do not allow the heater cord to touch the following areas:
The engine
Hot pipes
The manifold
Any moving parts.
Install the heater cord to the coolant heater (2).
Route the heater cord.
Fill the radiator and the engine with engine coolant. Refer to Draining and Filling Cooling System.
Inspect the system for leaks.
Wednesday, October 29th, 2008 AT 9:21 AM