Body mount bolts, how to remove

Tiny
WILLIERB
  • MEMBER
  • 2005 CHEVROLET SILVERADO
  • V8
  • 2WD
  • AUTOMATIC
  • 106,000 MILES
My truck listed above 2500HD has weird body mount bolts I need to remove to install nerf bars. They are sorta oblong with a hold in the center, they do not have a regular bolt head on them, see photos.
How do you remove these?


http://www.2carpros.com/forum/automotive_pictures/473965_2010_0130Image0004_3.jpg



http://www.2carpros.com/forum/automotive_pictures/473965_2010_0130Image0005_5.jpg

Monday, February 1st, 2010 AT 3:08 PM

3 Replies

Tiny
JACOBANDNICKOLAS
  • MECHANIC
  • 110,194 POSTS
Wow, I can honestly say I never seen one like that. It appears to be missing a few parts. From the picture, it looks like there is a rataining clip holding it in place. Have you taken anything off?
Was this
answer
helpful?
Yes
No
-1
Sunday, February 7th, 2010 AT 11:06 PM
Tiny
SKYLAR LANTZ
  • MEMBER
  • 1 POST
How did you get this off? I have the same problem can’t figure out how to take it off.
Was this
answer
helpful?
Yes
No
-1
Wednesday, April 15th, 2020 AT 11:12 AM
Tiny
JACOBANDNICKOLAS
  • MECHANIC
  • 110,194 POSTS
Hi,

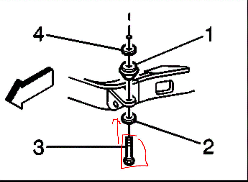
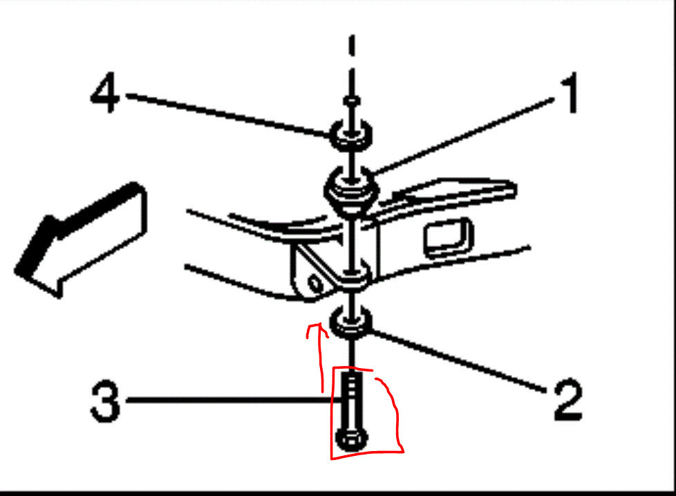
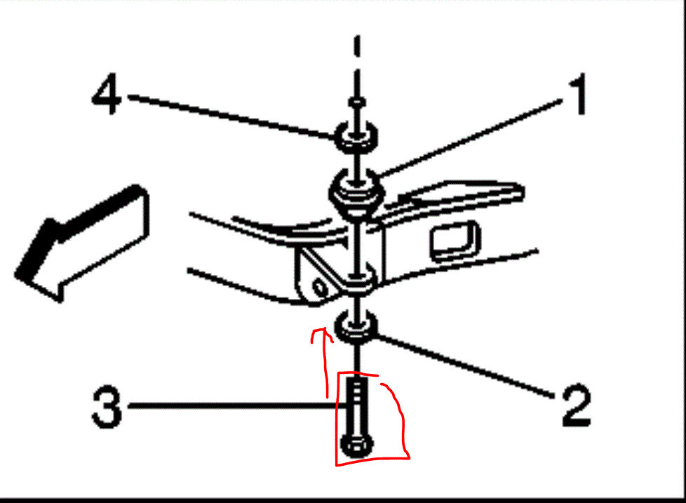
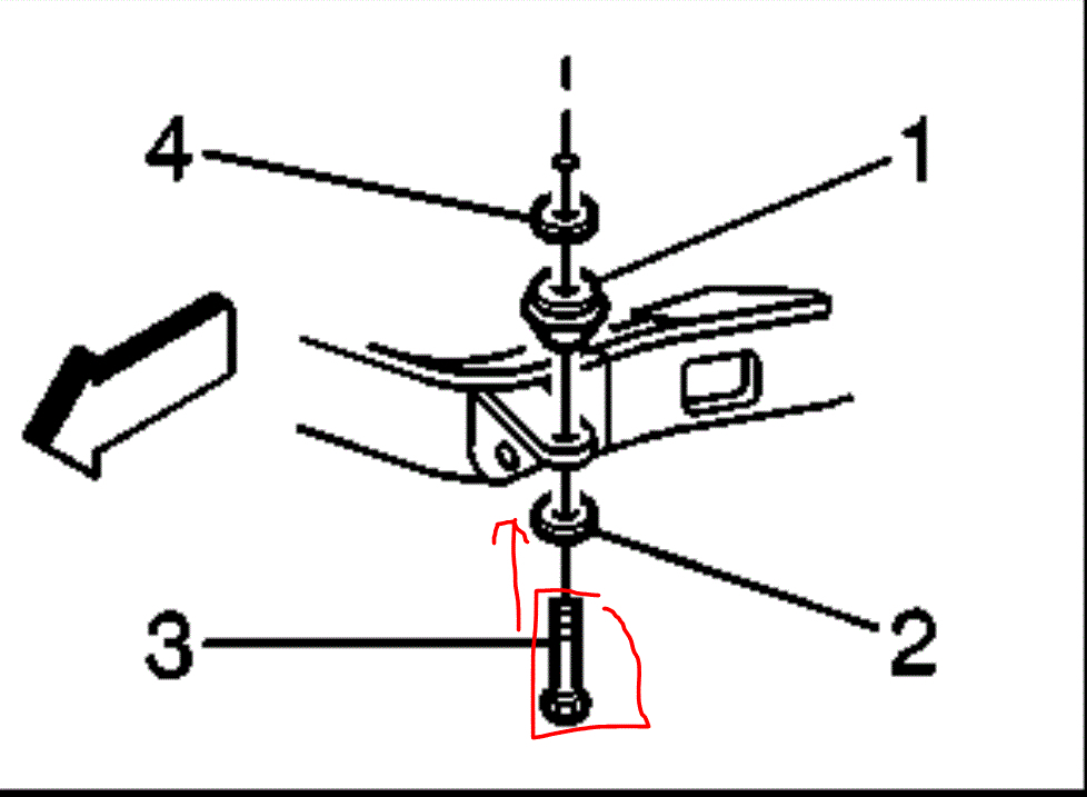
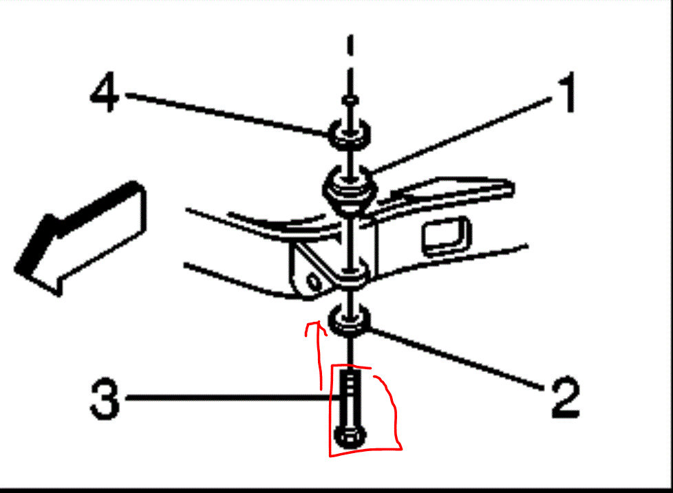
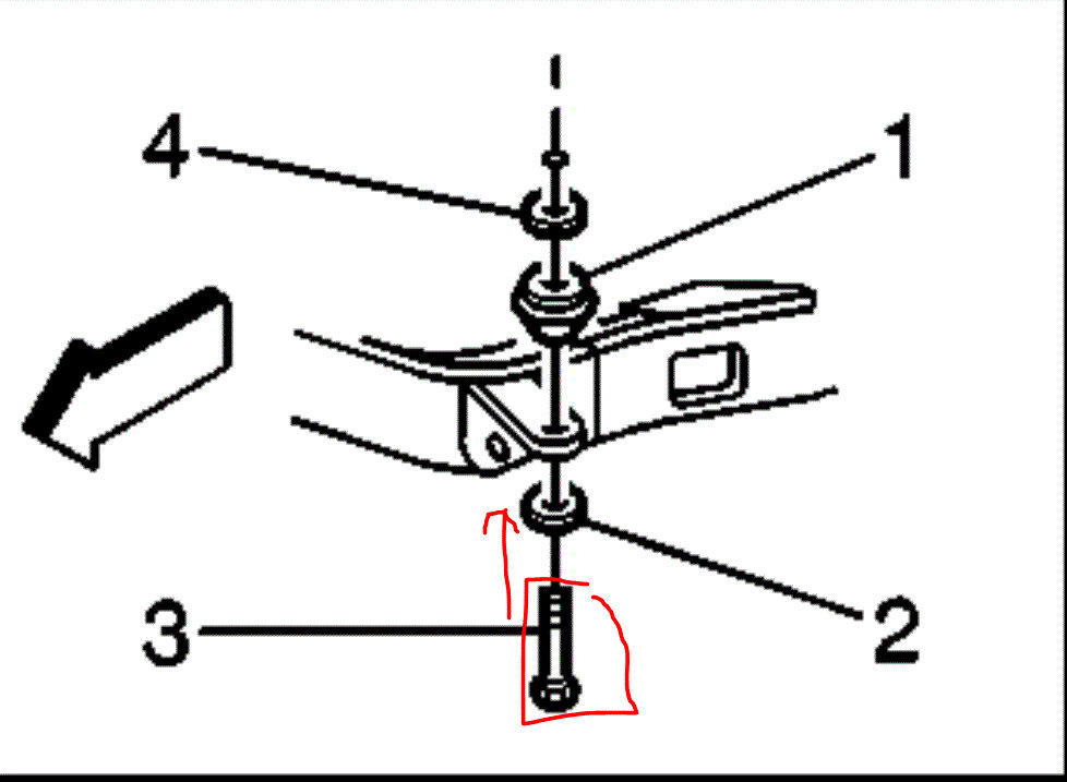
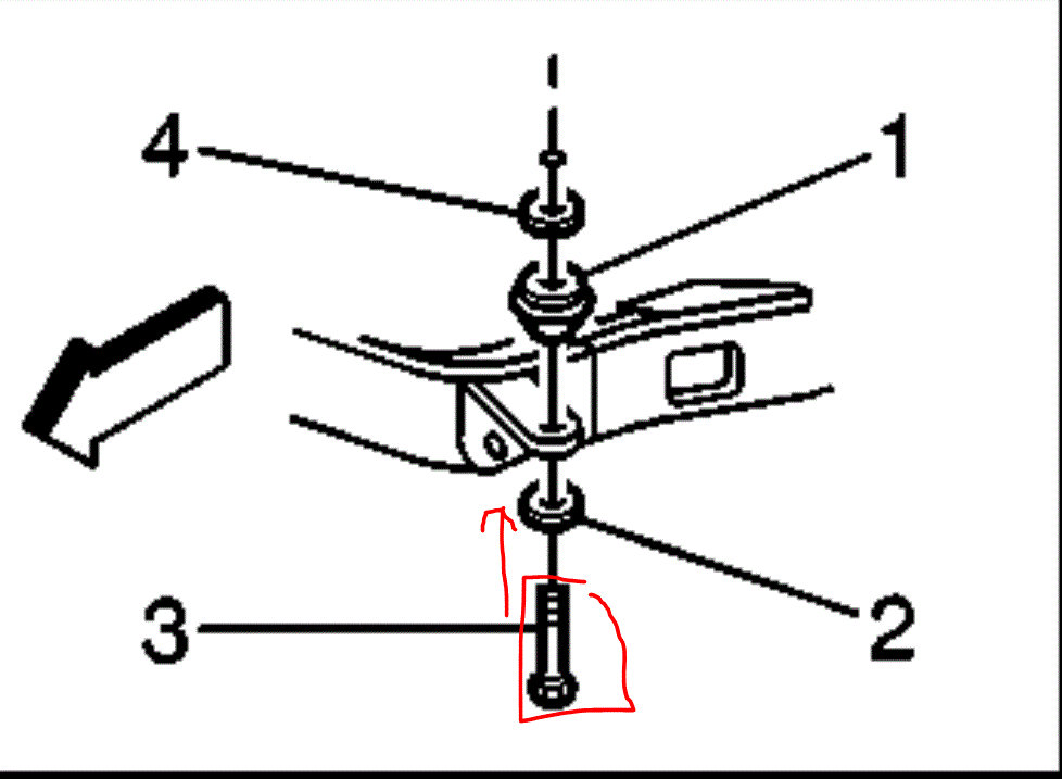
What you see in the above pic is not the bolt. There should be a bolt going into the opening with a rubber insulator and steel washer holding the body to the frame. See pic 1.

Here are the directions for replacement. Pics 2 and 3 correlate with the directions.

____________________________________________________________________________________________

2005 Chevy Truck Silverado 2500 2WD V8-6.0L VIN U
Frame Cushion or Insulator Replacement (Regular Cab)
Vehicle Body and Frame Frame Body / Frame Mount Bushing Service and Repair Removal and Replacement Frame Cushion or Insulator Replacement (Regular Cab)
FRAME CUSHION OR INSULATOR REPLACEMENT (REGULAR CAB)
Frame Cushion or Insulator Replacement (Regular Cab)

Removal Procedure

Important: Ensure that the vehicle is unloaded prior to body removal.

1. Remove the master cylinder. Perform the following steps:

1. Remove the nuts retaining the master cylinder to the brake booster.
2. Remove the master cylinder from the brake booster.
3. Secure the cylinder away from the booster.

2. Raise the vehicle on the hoist. Refer to Vehicle Lifting.
3. Remove the park brake equalizer intermediate cable. Perform the following steps:

1. Remove the nut from the park brake equalizer intermediate cable.
2. Remove the intermediate cable from the equalizer.
3. Depress the retaining tabs that secure the park brake cable to the frame.
4. Pull slightly on the cable from the mounting area in order to provide slack for body movement without binding the cable.

Pic 2

4. Remove the body mount bolts.
5. Properly support the body in the area that the mounts will be replaced.

Caution: When you remove the body cushions, do NOT separate the frame from the body more than is necessary. Possible personal injury and damage to multiple parts may result if you do not follow the guides outlined below:

* Intermediate steering shaft-Do not allow the shaft to extend more than 25 mm (1 in).

* Fuel tank filler hose-Do not stretch the hose excessively.

* Tail/Turn signal lamp wiring/rear lamps junction block-Leave slack in the wires.

* Park brake cable-Leave slack in the cable.

* Body ground straps-Leave slack in the wire.

Lower the chassis accordingly in order to remove the cushions (1) as necessary.

Installation Procedure

pic 3

1. Install the cushions (1) as necessary and raise the chassis accordingly.

Notice: Refer to Fastener Notice in Service Precautions.

2. Install the body mount bolts.

Tighten the bolts to 85 N.M (63 lb ft).

3. Install the park brake equalizer intermediate cable. Perform the following steps:

1. Pull rearward on the park brake cable to the original position.
2. Secure the cable retaining tabs to the frame.
3. Install the intermediate cable end to the equalizer.
4. Install the nut to the threaded end of the intermediate cable.

Tighten the nut to 4 N.M (31 lb in).

4. Lower the vehicle.
5. Install the master cylinder. Perform the following steps:

1. Mount the master cylinder to the brake booster.
2. Install the master cylinder mounting nuts.

Tighten the nuts to 36 N.M (27 lb ft).
________________________________________________________

Let me know if this helps or if you have other questions.

Take care,
Joe
Was this
answer
helpful?
Yes
No
Wednesday, April 15th, 2020 AT 7:36 PM

Please login or register to post a reply.