2007 Chevy Impala Drivers side mirror

Tiny
CHASECA
  • MEMBER
  • 2007 CHEVROLET IMPALA
  • 6 CYL
  • 2WD
  • AUTOMATIC
  • 72,000 MILES
How do I replace the drivers side mirror on a 2007 Chevy Impala. I'm replacing the whole unit and it's not heated.
Thursday, September 3rd, 2009 AT 7:40 PM

4 Replies

Tiny
BLUELIGHTNIN6
  • MECHANIC
  • 16,542 POSTS
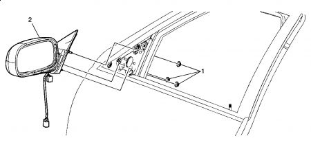
Remove the interior trim panel. disconnect mirror electrical connector. remove 3 nuts and replace mirror assembly.


https://www.2carpros.com/forum/automotive_pictures/261618_Graphic_158.jpg

Was this
answer
helpful?
Yes
No
Thursday, September 3rd, 2009 AT 7:59 PM
Tiny
CHASECA
  • MEMBER
  • 3 POSTS
Thanks for the reply. Do I just have to remove the triangular panel by the mirror or I do I have to remove the whole door panel. I don't want to ruin it.
Was this
answer
helpful?
Yes
No
+1
Thursday, September 3rd, 2009 AT 8:01 PM
Tiny
BLUELIGHTNIN6
  • MECHANIC
  • 16,542 POSTS
Yes, just the triangular shape. pull on the top end of the panel to disengage the clips. then lift the panel out from behind the door panel


https://www.2carpros.com/forum/automotive_pictures/261618_Graphic2_18.jpg

Was this
answer
helpful?
Yes
No
Thursday, September 3rd, 2009 AT 8:03 PM
Tiny
CHASECA
  • MEMBER
  • 3 POSTS
Wow. Thank you VERY much !
Was this
answer
helpful?
Yes
No
Thursday, September 3rd, 2009 AT 8:04 PM

Please login or register to post a reply.