1996 Chevy Camaro P1351

Tiny
WILLL
  • MEMBER
  • 1996 CHEVROLET CAMARO
  • V8
  • 2WD
  • AUTOMATIC
  • 150,000 MILES
I have a 1996 Camaro 5.7 LT1. I have the trouble code p1351 Ignition control circuit high voltage. I have replaced the ICM, Distributor, Alternator and Opti spark wiring harness. I have replaced everything short of the entire wiring harness from the VCM. Any suggestions?
Monday, November 8th, 2010 AT 8:16 PM

8 Replies

Tiny
DOCFIXIT
  • MECHANIC
  • 18,828 POSTS
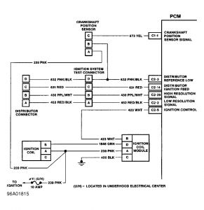
Measure voltage from ICM terminal "B" and ground is it between 1-4V?


https://www.2carpros.com/forum/automotive_pictures/198357_Graphic_705.jpg

Was this
answer
helpful?
Yes
No
+1
Tuesday, November 9th, 2010 AT 2:51 PM
Tiny
WILLL
  • MEMBER
  • 5 POSTS
Hey can u send me the direct link to that schismatic so I can enlarge it and save it for future reference.
Was this
answer
helpful?
Yes
No
Tuesday, November 9th, 2010 AT 3:23 PM
Tiny
DOCFIXIT
  • MECHANIC
  • 18,828 POSTS
Nope but you can go to Repair Manuals on this site and get entire manual from Mitchell on Demand @ $10
Was this
answer
helpful?
Yes
No
Wednesday, November 10th, 2010 AT 9:46 AM
Tiny
WILLL
  • MEMBER
  • 5 POSTS
I got a weird reading of -0.12 on the meter disclosed in photo


https://www.2carpros.com/forum/automotive_pictures/590619_111010121356_1.jpg


https://www.2carpros.com/forum/automotive_pictures/590619_111010121222_1.jpg



https://www.2carpros.com/forum/automotive_pictures/590619_111010121337_1.jpg



if i am at a wrong setting or on the wrong connectors please let me know. Key is in On position.
Was this
answer
helpful?
Yes
No
Wednesday, November 10th, 2010 AT 2:38 PM
Tiny
DOCFIXIT
  • MECHANIC
  • 18,828 POSTS
Meter needs to be on 20 scale DCV
Was this
answer
helpful?
Yes
No
Wednesday, November 10th, 2010 AT 2:42 PM
Tiny
WILLL
  • MEMBER
  • 5 POSTS


https://www.2carpros.com/forum/automotive_pictures/590619_111010132914_1.jpg


and this number jumped around from -.35 to -.29
Was this
answer
helpful?
Yes
No
Wednesday, November 10th, 2010 AT 5:12 PM
Tiny
DOCFIXIT
  • MECHANIC
  • 18,828 POSTS
Check from B to engine bolck if voltage then ground C black mis faulty
Was this
answer
helpful?
Yes
No
Thursday, November 11th, 2010 AT 11:41 AM
Tiny
WILLL
  • MEMBER
  • 5 POSTS
@ Docfixit I sent my car to a shop to test the electrical for me and they told me that I needed to reprogram my PCM or something was wrong with my pcm and I needed to take it directly to Chevy for service.
Do you have any friends in California I can take this car to personally? This Vehicle is not a regular Camaro. I got this car from a retired Lt. From the highway patrol in Oregon and this car has many Chevy Add-on's I do not trust with just anybody.
I took the car to Pontiac/Chevy dealer when I threw my timing chain and they told me I threw a piston and I had a hole in my piston. I took the car home and fixed the timing chain myself. Same motor is in it now. You can see why I Try not to take my car to shops because I just get screwed for money I do not have.
She runs so great. I replaced ignition control module, distributor, opti wiring harness, coil, crank sensor, alternator, everything with ignition short of the PCM and the entire motor harness from the PCM.
Was this
answer
helpful?
Yes
No
Tuesday, November 16th, 2010 AT 5:18 AM

Please login or register to post a reply.