Check engine light on?

Tiny
BURGHGUY21
  • MEMBER
  • 2008 JEEP GRAND CHEROKEE
  • 3.7L
  • V6
  • 4WD
  • AUTOMATIC
  • 125,237 MILES
My check engine light came on and the garage said it was the o2 sensor on the passenger side. After he replaced it and I drove it around for 2 days and the light came back on. I have no problem starting it and runs good. What could be the problem?
Friday, December 16th, 2022 AT 8:44 PM

5 Replies

Tiny
JACOBANDNICKOLAS
  • MECHANIC
  • 110,194 POSTS
Hi,

The idea that it runs good indicates it could be a few different causes. The light itself could indicate an EVAP leak, and it would still run good.

If the code that was retrieved was related to an oxygen sensor, the sensor could be the issue (which was replaced) or it could be a wiring or an electronics issue.

By chance, do you know the code that was retrieved that led to the replacement of the sensor? '

Let me know. Also, here is a link that explains how an O2 sensor works. I thought it may be of interest.

https://www.2carpros.com/articles/how-an-oxygen-sensor-works

Let me know if you can get the code.

Take care,

Joe
Was this
answer
helpful?
Yes
No
Friday, December 16th, 2022 AT 10:23 PM
Tiny
BURGHGUY21
  • MEMBER
  • 4 POSTS
I will find out what code it was and post it. Thanks.
Was this
answer
helpful?
Yes
No
Saturday, December 17th, 2022 AT 7:27 AM
Tiny
BURGHGUY21
  • MEMBER
  • 4 POSTS
I found out the code, P2098 is the code and there were no other codes.
Was this
answer
helpful?
Yes
No
Saturday, December 17th, 2022 AT 7:37 AM
Tiny
JACOBANDNICKOLAS
  • MECHANIC
  • 110,194 POSTS
Hi,

Thanks, that helps. The code doesn't indicate a faulty O2 sensor. Instead, it indicates a lean fuel mixture on that bank 2.

There are a few things that can cause this. For example, a faulty sensor that has already been replaced, an exhaust leak at the exhaust manifold, a wiring-related issue, and so on.

Oftentimes, a lean fuel mixture is the result of a weak fuel pump or an engine vacuum leak. In this case, however, only one side of the engine is being affected, so those two things are very unlikely.

By chance, do you have an exhaust leak close to the engine? It may simply sound like a ticking. Since it is one side, this would be my first suspect or the wiring to the sensor is corroded or damaged.

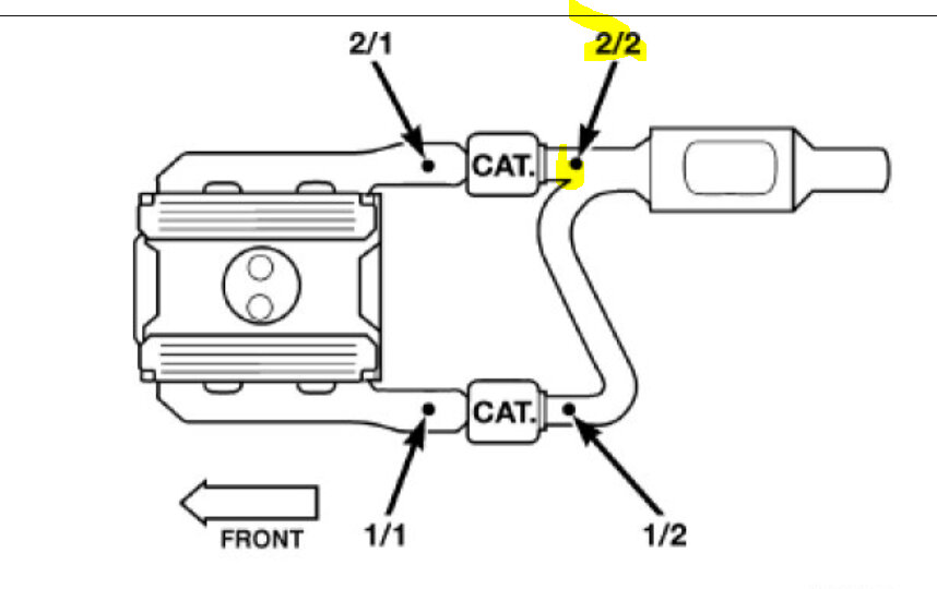
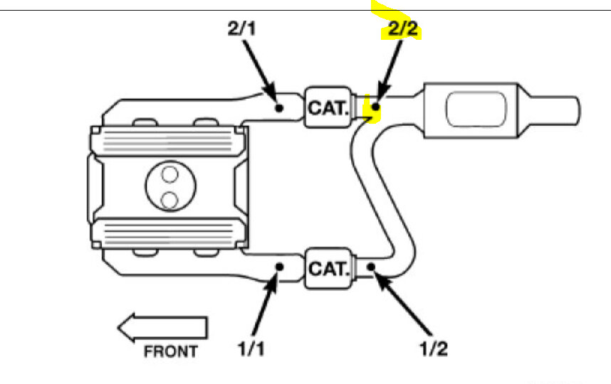
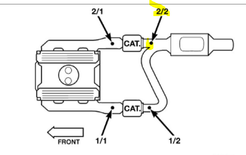
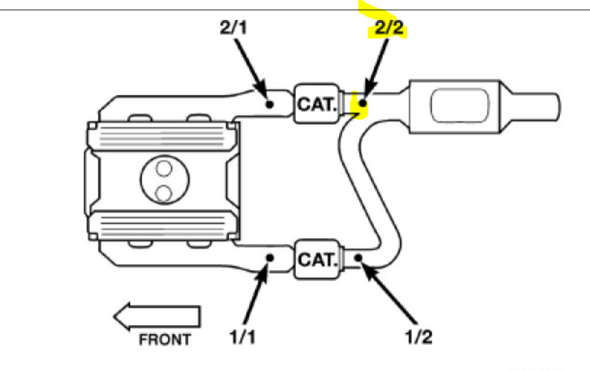
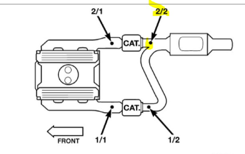
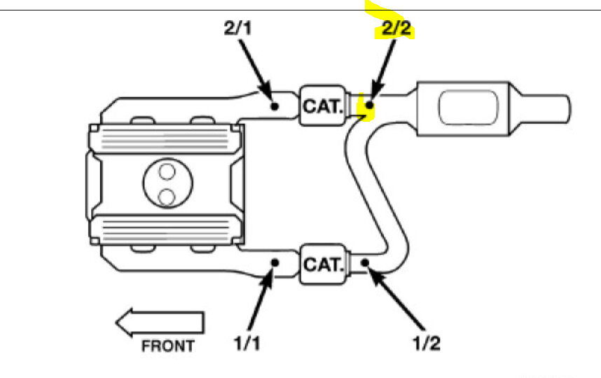
I attached a pic below highlighting the sensor in question. It will be after the catalytic converter. When the engine is cold, follow the wiring from the sensor to where it connects to the wiring harness. See if there is any evidence of damage. Disconnect the connector and see if there is corrosion in the connector or damaged pins.

Let me know what you find or if you have questions.

Take care,

Joe

See pic below.
Was this
answer
helpful?
Yes
No
Saturday, December 17th, 2022 AT 9:53 PM
Tiny
BURGHGUY21
  • MEMBER
  • 4 POSTS
I will check it out. Thanks for your help and I will let you know what I find.
Was this
answer
helpful?
Yes
No
Sunday, December 18th, 2022 AT 6:43 AM

Please login or register to post a reply.