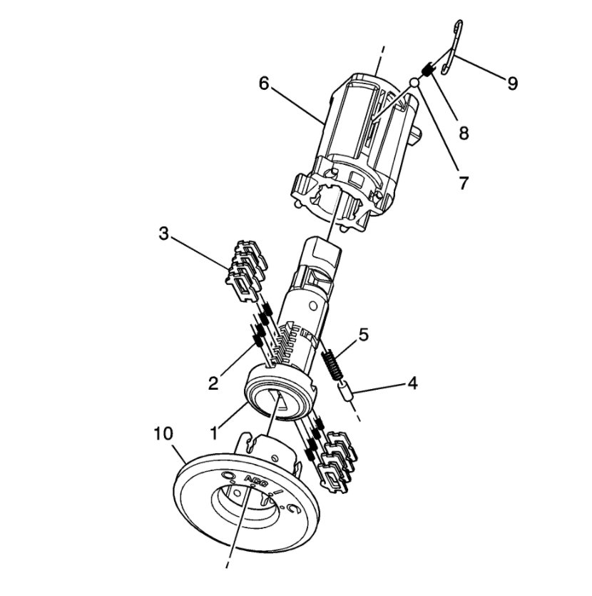
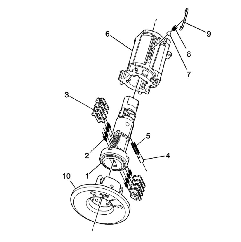
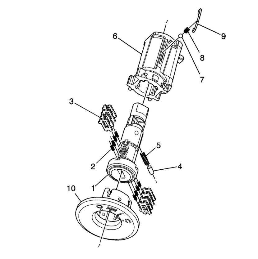
I have tried the 10 minutes on 30 seconds off programming service 15 times if not more. Since I had the new ignition put in my car listed above LT model I have reset my whole entire car with the hard reset with the terminals and also had called a lock smith to try and help me with his computer. I showed him the piece that fell out he said to go buy the module since the black box was no longer intact with the black circle piece with copper wires in it (not a clue). So I have that new piece but not sure what to do with it how it goes or even where it goes. On the other hand the locksmith guy also had mentioned that on his machine many codes came up but shouldn't be the issue. Regardless my car still wont crank all the way over to start but will go half way. I think i'm going to try and wire a toggle switch to it today to see if that works. Should I or no? The bad part of all this is I have spent $5,000.00 on my car buying it from a dealer ship then not long after since I have had it only like 5 months maybe 6 now this happens.
As of right now I have spent $900.00 something if not more into it already because of just this issue. Between dealer ships different parts (that was supposedly the issue now come to find out it's the anti theft deterrent module system?). So that's out my car now what do I do? Please someone tell me something.
It wont start up but cranks over the anti theft light wont go out. It has got the key looking thing with the lock not blinking just straight on. I have no idea for the life of me what to do which route to take or anything. My father usually did this. Kind of automotive things for me but now that he is passed I'm lost and have no idea what i'm doing. Though I don't want to spend mad more money for nothing nor do I want to ruin anything else by not knowing what i'm doing or by trying to do it myself like I was doing in the beginning.
Do I go buy a new module or keep the one I just got with the key and ignition switch if one even comes with it? I have no idea because the locksmith put the ignition together for me once I bought the assembly from the Chevrolet dealer ship since again I had no idea what I was doing! So please let me know. Do I wire the yellow and black wire to a toggle switch like I have been watching on YouTube? Trying to learn something or what do I do next?
Thursday, December 31st, 2020 AT 5:07 AM










