Monday, May 4th, 2020 AT 5:09 AM
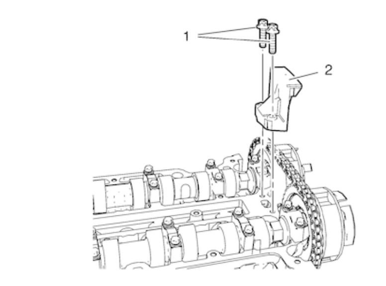
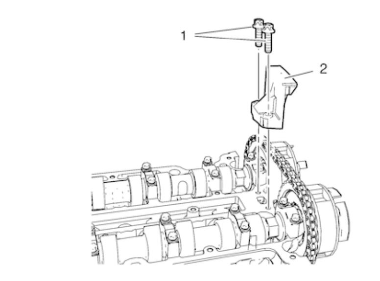
I recently replaced the head gasket in my kids' car. I locked down the timing chain and camshafts so no issue there. When I removed the bolts holding the camshafts to the timing chain sprockets, I didn't mark the positions of the sensor (not sure what to call them) rotors that come loose when you pull the bolts. The car is running, but very weak and rough. I need to be told how to reset those rotors.































