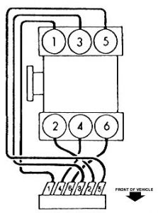
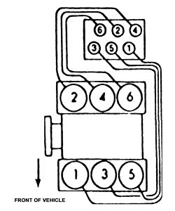
I'd like to replace them, but my chilton manual isn't very clear on which wires go where.
Here is a rough picture of my engine with small circles to indicate where the wires go from, and the large circles to indicate the cylinder the wires go to.

I am happy to draw the wires on later, number them, label it and upload the final picture for others to use.
Thursday, May 3rd, 2007 AT 8:50 AM







