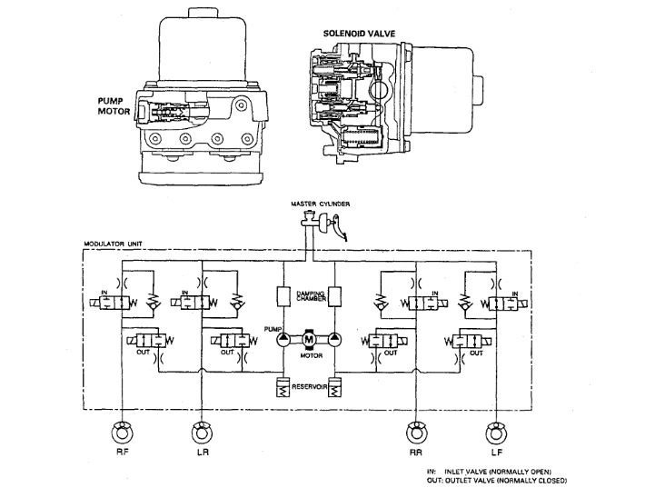
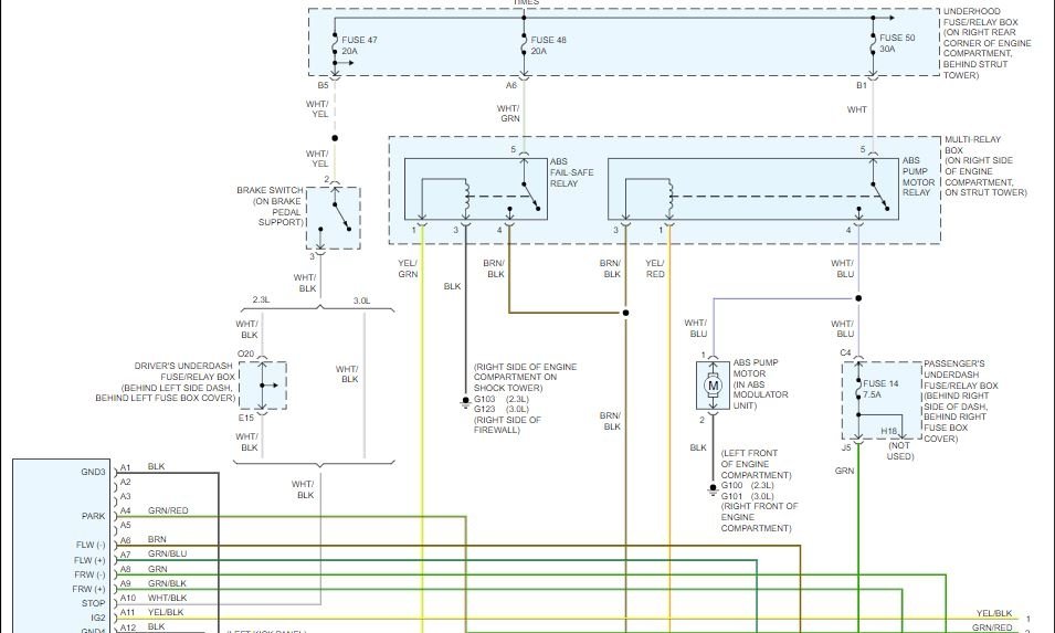
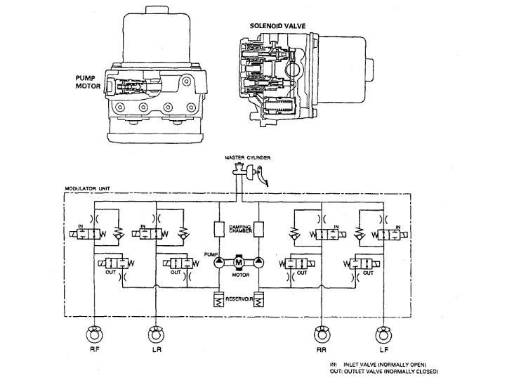
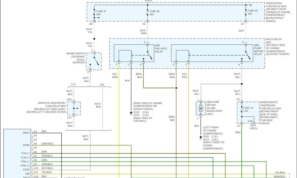
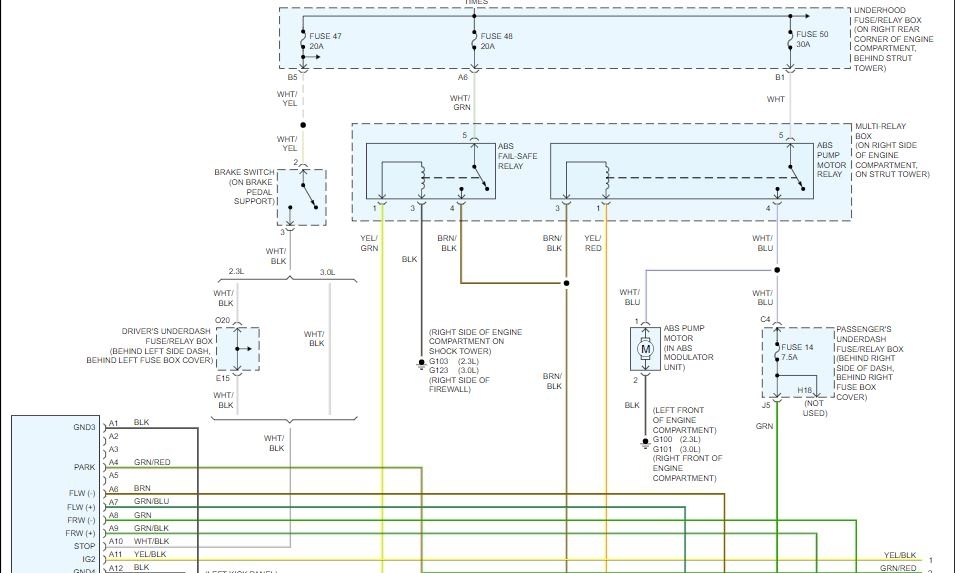
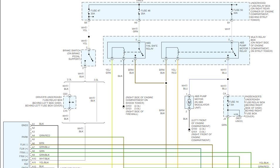
ABS light always on

Tiny
NABABA
  • MEMBER
  • 1999 HONDA ACCORD
  • 226,000 MILES
The brakes are working perfectly, but the ABS light is on always.
Saturday, February 15th, 2020 AT 4:56 AM

1 Reply

Tiny
ASEMASTER6371
  • MECHANIC
  • 52,796 POSTS
Good morning,

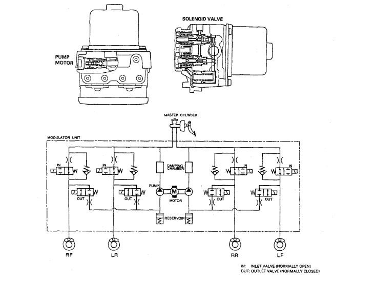
The system is for stopping safely in the event of a sudden stop. The wheels will not lock up if the system is working correctly.

When there is a fault, the light comes on and the system is off line.

There is a fault code stored and I need that code to narrow the area of failure for you.

A wheel speed sensor is the most common failure but needs to be confirmed.

Roy
Was this
answer
helpful?
Yes
No
Friday, April 23rd, 2021 AT 1:18 PM

Please login or register to post a reply.