Firing order diagram?

Tiny
TONYD235
  • MEMBER
  • 2005 FORD TAURUS
  • 3.0L
  • 6 CYL
  • 2WD
  • AUTOMATIC
  • 89,000 MILES
What is the spark plug gap for my car and firing order?
Thursday, March 27th, 2014 AT 9:37 AM

37 Replies

Tiny
JACOBANDNICKOLAS
  • MECHANIC
  • 110,192 POSTS
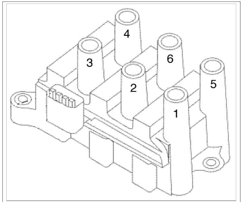
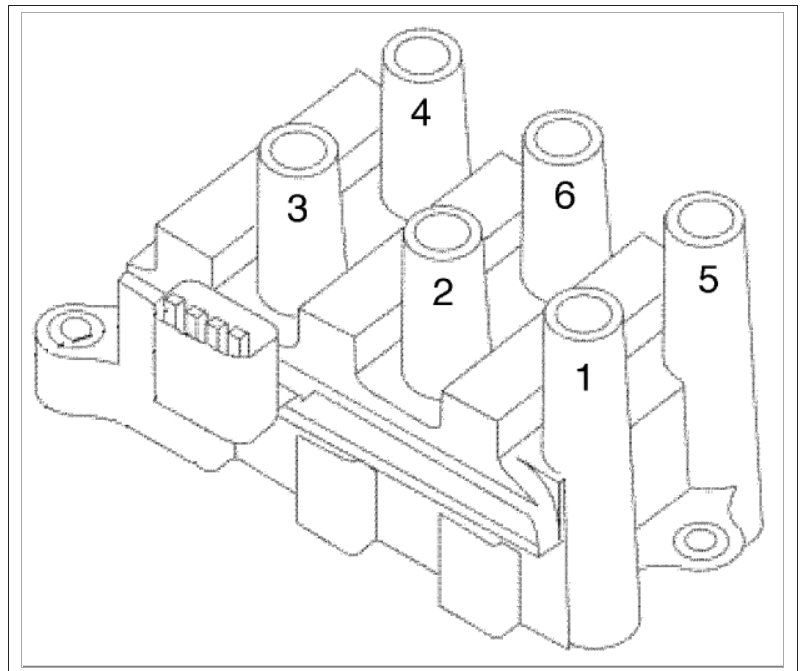
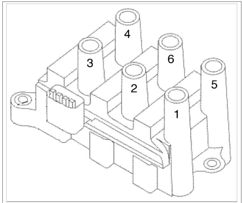
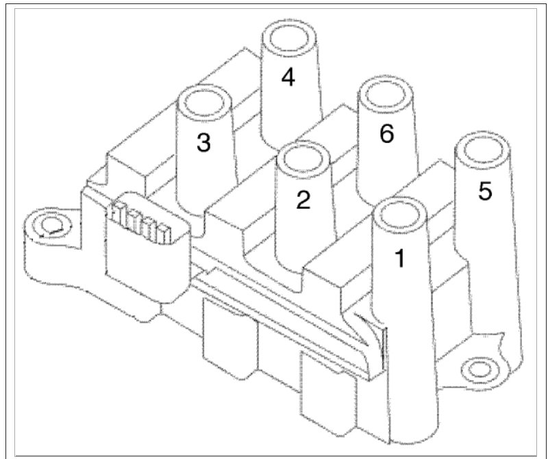
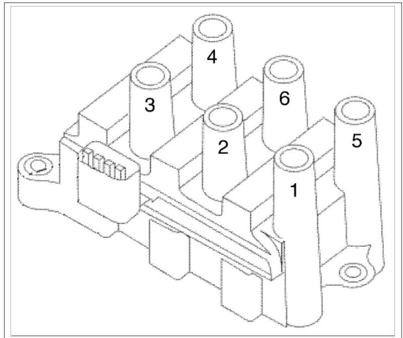
.044 (In thousandths of an inch) Here is a guide that will help you install them

https://www.2carpros.com/articles/how-to-change-spark-plugs

Here is the firing order as well

Firing order .................... 1-4-2-5-3-6

Check out the diagrams (Below). Please let us know if you need anything else to get the problem fixed.
Was this
answer
helpful?
Yes
No
+22
Thursday, July 16th, 2020 AT 12:25 PM
Tiny
SR89
  • MEMBER
  • 1 POST
  • 2005 FORD TAURUS
  • 6 CYL
  • 2WD
  • AUTOMATIC
  • 70,000 MILES
I can not find the wiring diagram for my car. 2005 Ford taurus SE 3.0V6 ohv. I replaced the spark plugs and now it is backfiring. Can anyone help?
Was this
answer
helpful?
Yes
No
+2
Saturday, January 16th, 2021 AT 9:56 AM (Merged)
Tiny
MERLIN2021
  • MECHANIC
  • 17,250 POSTS
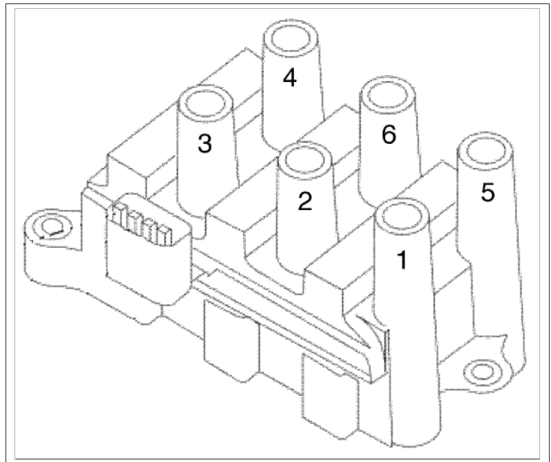
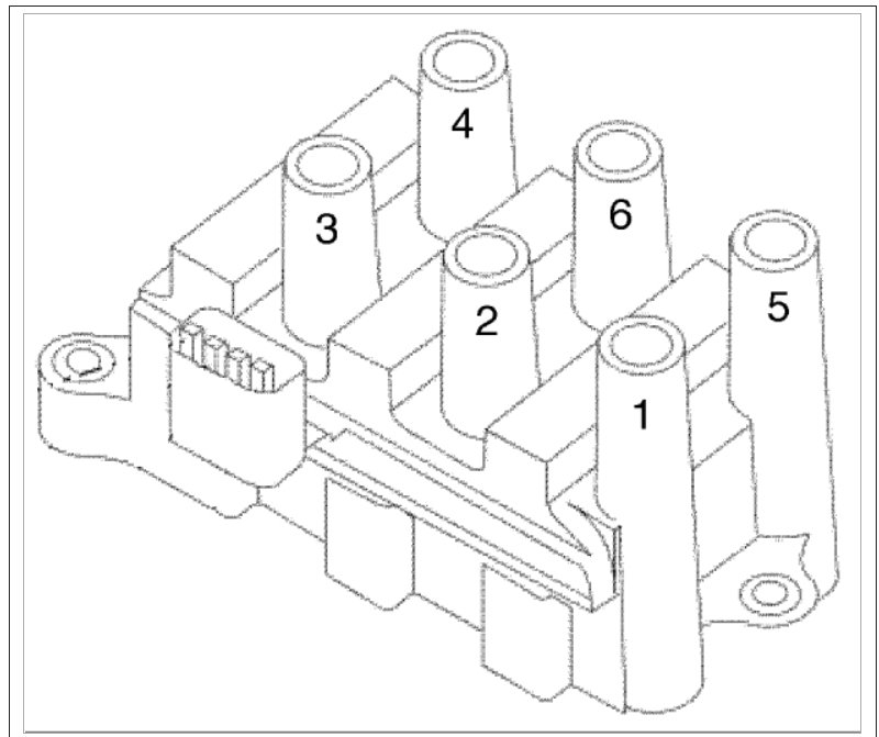
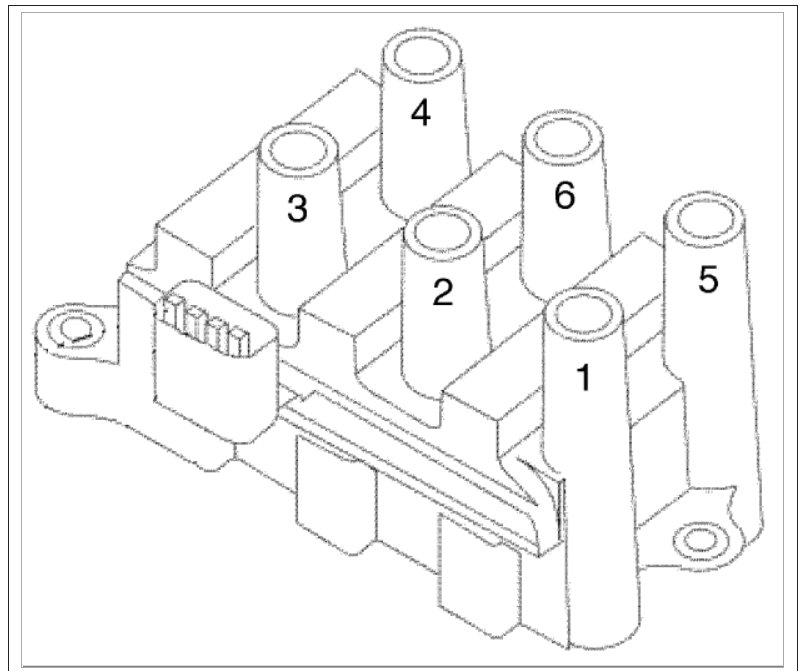
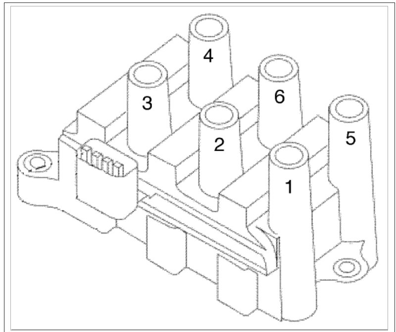
Here is the engine ignition firing order - Firing order 1-4-2-5-3-6 It sounds like you crossed two or more wires...re route to correct positions!

Here is a video of the job being done.

https://youtu.be/iDgXwKA-IIc

Check out the diagrams (Below). Please let us know if you need anything else to get the problem fixed.

Cheers
Was this
answer
helpful?
Yes
No
+9
Saturday, January 16th, 2021 AT 9:56 AM (Merged)
Tiny
2CP-ARCHIVES
  • MEMBER
  • 4,540 POSTS
  • 2005 FORD TAURUS
  • 103,600 MILES
I need a diagram for spark plug wires.
Was this
answer
helpful?
Yes
No
+3
Saturday, January 16th, 2021 AT 9:56 AM (Merged)
Tiny
ASEMASTER6371
  • MECHANIC
  • 52,796 POSTS
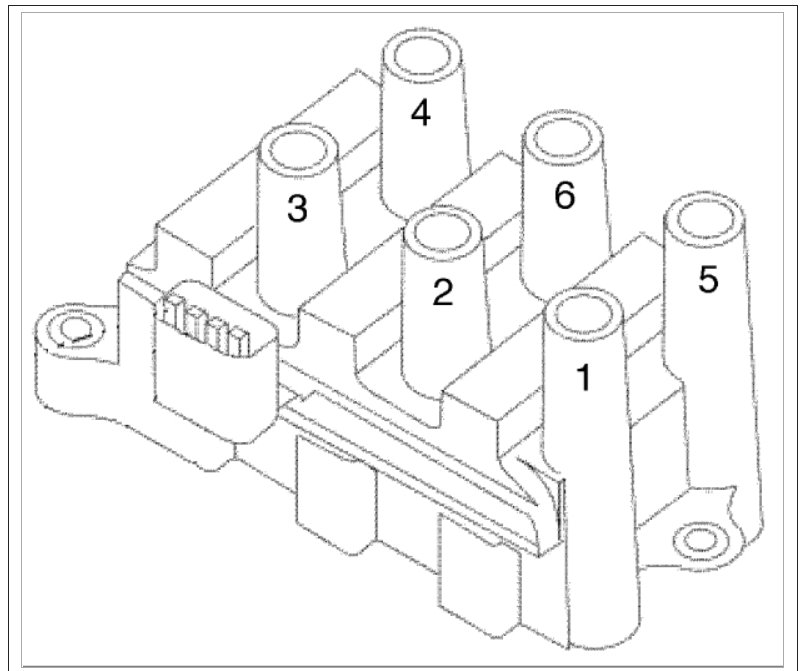
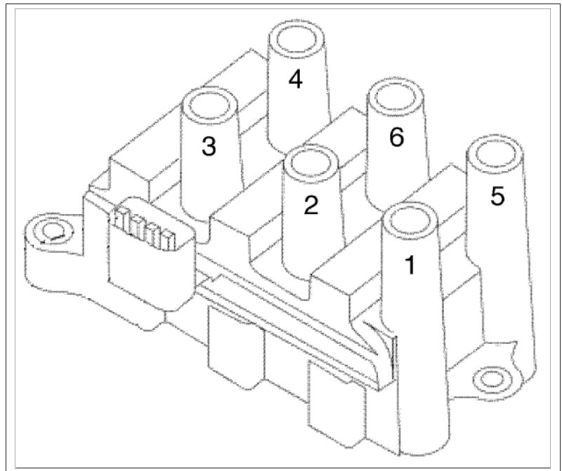
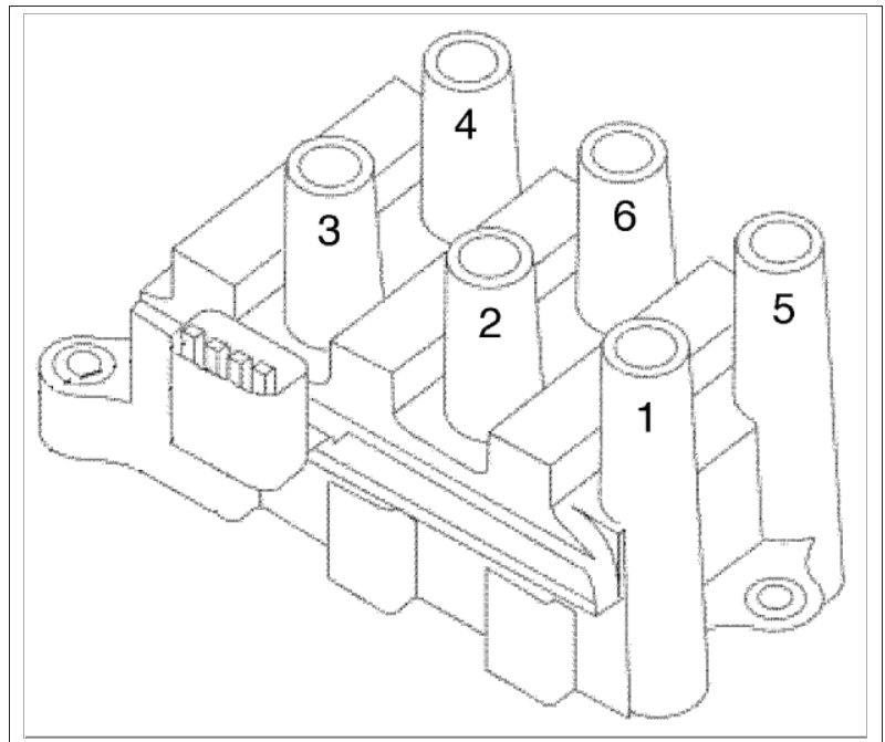
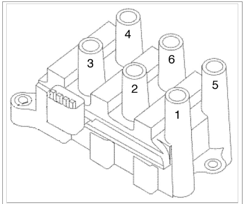
Here is the engine spark plug firing order. Check out the diagrams (Below). Please let us know if you need anything else to get the problem fixed.

Cheers
Was this
answer
helpful?
Yes
No
-1
Saturday, January 16th, 2021 AT 9:56 AM (Merged)
Tiny
HEATHER1984
  • MEMBER
  • 1 POST
  • 2004 FORD TAURUS
  • 150,000 MILES
I disconnected my spark plug coil caps from my car (engine 3.0 V6) and re-plugged them back exactly where I removed them from (there is no chance I put them in the wrong spots). I did however plug them back in, in a random order (ie. Top left, then bottom right, etc). Now my car's check engine light is on and my car is shaking very hard while parked or when driving (when applying gas). Was I supposed to plug them back in, in a certain order? Ie. First- top left, second- top middle, third- top right, etc?

Any help is appreciated! Thank you.
Was this
answer
helpful?
Yes
No
+1
Saturday, January 16th, 2021 AT 9:57 AM (Merged)
Tiny
JDL
  • MECHANIC
  • 16,098 POSTS
As long as they are in the right place, I cannot see how it makes any difference. The spark plug wires are the only thing you disconnected, worked on? Have you check applicable trouble codes, to see if codes point to particular cylinder?

You could try using a digital multi-meter, low voltage setting, engine idling, if it will idle, Touch meter lead to spark plug wire, do not penetrate the insulation or take anything loose, it is an inductive reading, very low tech, non-intrusive. The readings I get, usually, are about.6 or.7 volts. The point is if get a reading bouncing off of zero, that is the wire I want to check.
Maybe you need new spark plug wires or not plugged in all the way? Check out the diagrams (Below). Please let us know if you need anything else to get the problem fixed.
Was this
answer
helpful?
Yes
No
+2
Saturday, January 16th, 2021 AT 9:57 AM (Merged)
Tiny
HDICEBLUE
  • MEMBER
  • 1 POST
  • 2003 FORD TAURUS
  • 6 CYL
  • FWD
  • AUTOMATIC
  • 106,000 MILES
Firing order with the coil pack?
Was this
answer
helpful?
Yes
No
+2
Saturday, January 16th, 2021 AT 9:57 AM (Merged)
Tiny
RASMATAZ
  • MECHANIC
  • 75,992 POSTS
See below:


https://www.2carpros.com/forum/automotive_pictures/12900_t1_12.jpg




https://www.2carpros.com/forum/automotive_pictures/12900_t2_8.jpg

Was this
answer
helpful?
Yes
No
+3
Saturday, January 16th, 2021 AT 9:57 AM (Merged)
Tiny
COFFELL
  • MEMBER
  • 1 POST
  • 2001 FORD TAURUS
  • 6 CYL
  • FWD
  • AUTOMATIC
  • 123,000 MILES
I need a diagram of the plug wires on how they go on I think I have them on wrong. How can I tell. My car has a miss in it.
Was this
answer
helpful?
Yes
No
Saturday, January 16th, 2021 AT 9:57 AM (Merged)
Tiny
BMRFIXIT
  • MECHANIC
  • 19,053 POSTS
Engine size???????????????


https://www.2carpros.com/forum/automotive_pictures/99387_Graphic1_638.jpg



https://www.2carpros.com/forum/automotive_pictures/99387_Graphic2_301.jpg

Was this
answer
helpful?
Yes
No
+2
Saturday, January 16th, 2021 AT 9:57 AM (Merged)
Tiny
PAULJOHNMORENO
  • MEMBER
  • 1 POST
  • 2001 FORD TAURUS
  • 6 CYL
  • FWD
  • AUTOMATIC
  • 146,000 MILES
What order are the plug wires and with the plugsin the engine?
Was this
answer
helpful?
Yes
No
Saturday, January 16th, 2021 AT 9:57 AM (Merged)
Tiny
RASMATAZ
  • MECHANIC
  • 75,992 POSTS
2001 Ford Taurus V6-3.0L DOHC VIN S
6-Cyl Firing Order: 1 4 2 5 3 6


https://www.2carpros.com/forum/automotive_pictures/12900_fo_6.gif



2001 Ford Taurus V6-3.0L VIN 2 Flex Fuel
6-Cyl Firing Order: 1 4 2 5 3 6


https://www.2carpros.com/forum/automotive_pictures/12900_fo1_1.gif



Was this
answer
helpful?
Yes
No
+2
Saturday, January 16th, 2021 AT 9:57 AM (Merged)
Tiny
SLOWCHRIS
  • MEMBER
  • 1 POST
  • 2001 FORD TAURUS
  • 6 CYL
  • 2WD
  • AUTOMATIC
  • 150,000 MILES
Were is spark plug number 2 I ran a diagnostic on my car and it said miss fire in cylinder #2
Was this
answer
helpful?
Yes
No
-1
Saturday, January 16th, 2021 AT 9:57 AM (Merged)
Tiny
DAVE H
  • MECHANIC
  • 13,384 POSTS
Hope this helps ..

4 cylinder


https://www.2carpros.com/forum/automotive_pictures/266999_4_3.jpg


6 cylinder


https://www.2carpros.com/forum/automotive_pictures/266999_6_2.jpg

Was this
answer
helpful?
Yes
No
Saturday, January 16th, 2021 AT 9:57 AM (Merged)
Tiny
BLUNTMAN
  • MEMBER
  • 1 POST
  • 1998 FORD TAURUS
  • 2WD
  • AUTOMATIC
  • 167,485 MILES
Spark plug wiring diagram?
Was this
answer
helpful?
Yes
No
Thursday, January 21st, 2021 AT 10:10 AM (Merged)
Tiny
BLUELIGHTNIN6
  • MECHANIC
  • 16,542 POSTS
Hello,

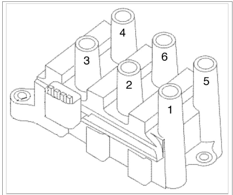
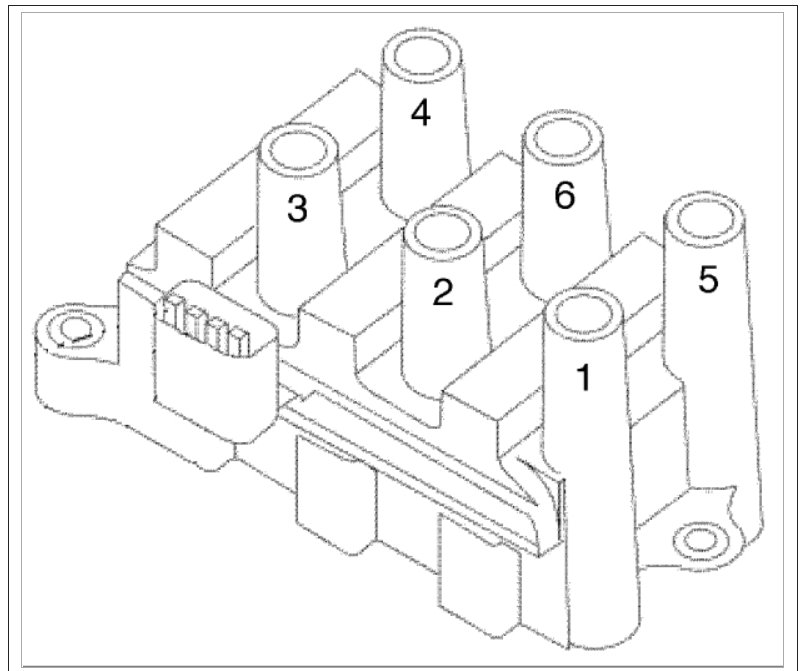
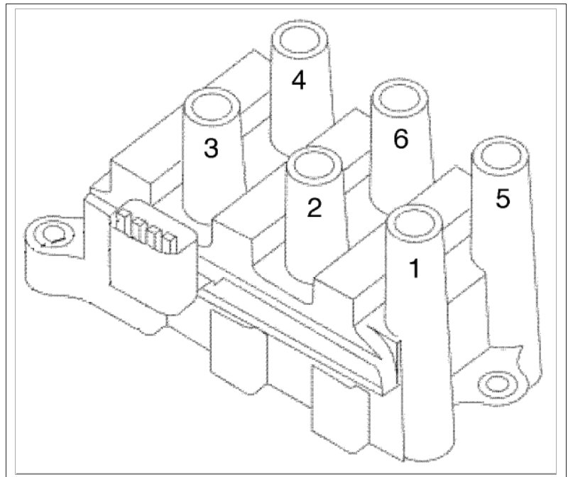
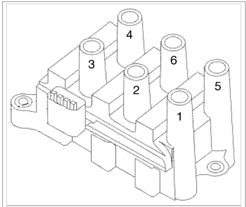
The firing order for you engine is is below (click to enlarge). Check out the diagrams (Below). Please let us know if you need anything else to get the problem fixed.
Was this
answer
helpful?
Yes
No
+2
Thursday, January 21st, 2021 AT 10:10 AM (Merged)
Tiny
RICH3435
  • MEMBER
  • 2 POSTS
  • 1997 FORD TAURUS
  • V8
  • 2WD
  • AUTOMATIC
  • 11,000 MILES
I would like to know if you can explain the firing order for spark plug wiring
Was this
answer
helpful?
Yes
No
Thursday, January 21st, 2021 AT 10:10 AM (Merged)
Tiny
BMRFIXIT
  • MECHANIC
  • 19,053 POSTS


https://www.2carpros.com/forum/automotive_pictures/99387_Graphic2_183.jpg



https://www.2carpros.com/forum/automotive_pictures/99387_Graphic3_84.jpg



https://www.2carpros.com/forum/automotive_pictures/99387_Graphic4_41.jpg

Was this
answer
helpful?
Yes
No
-1
Thursday, January 21st, 2021 AT 10:10 AM (Merged)
Tiny
RICH3435
  • MEMBER
  • 2 POSTS
  • 1997 FORD TAURUS
  • 6 CYL
  • FWD
  • AUTOMATIC
  • 11,000 MILES
What is the cylinder layout and firing order for 3.0 dohc v6 engine in 97 taurus?
Was this
answer
helpful?
Yes
No
Thursday, January 21st, 2021 AT 10:10 AM (Merged)

Please login or register to post a reply.