Remove antenna

Tiny
ELVIN
  • MEMBER
  • 2003 SUZUKI AERIO
  • 4 CYL
  • FWD
  • AUTOMATIC
Want to know how remove the antenna from a suzuki aerio 2003
Sunday, December 26th, 2010 AT 5:41 PM

3 Replies

Tiny
KHLOW2008
  • MECHANIC
  • 41,814 POSTS
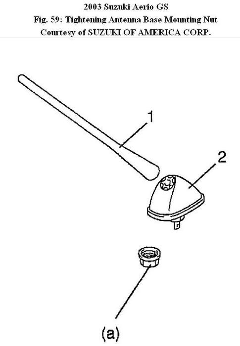
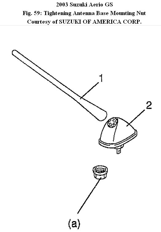
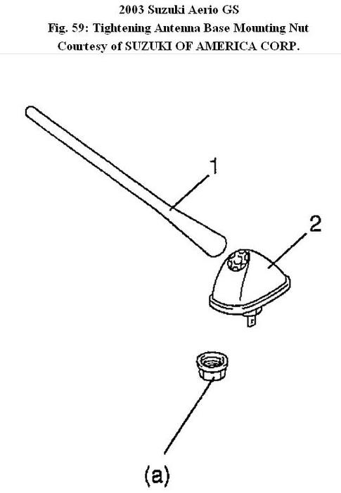
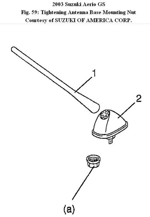
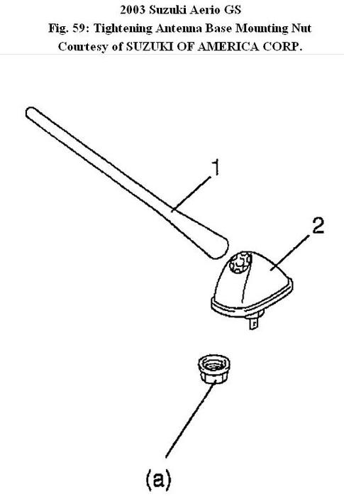
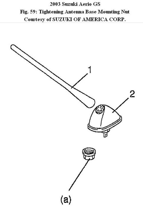
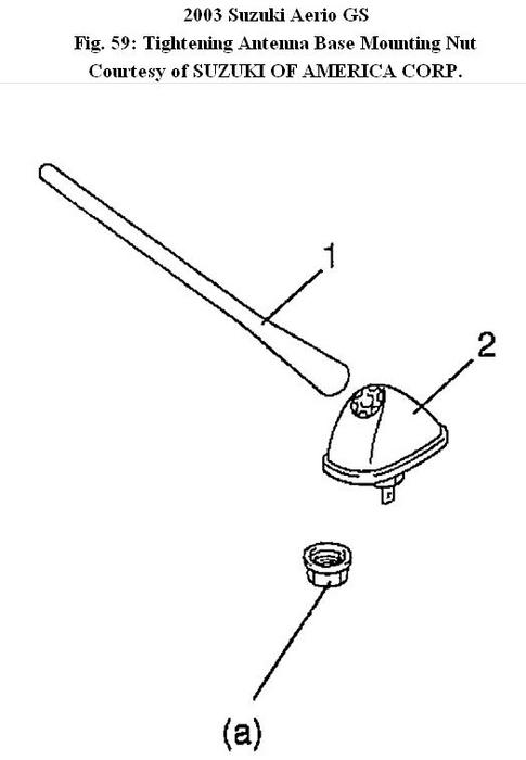
Antenna Removal and Installation

Removal
1. Remove head lining.
2. Remove antenna (1) from antenna base (2).
3. Disconnect antenna feeder from antenna base (2).
4. Remove antenna base (2) from vehicle.

Installation
Reverse removal procedure noting the following.

†Tighten antenna base mounting nut to specified torque.

Tightening torque

Antenna base mounting nut (a): 9 N-m (0.9 kg-m, 6.5 Ib-ft)
Was this
answer
helpful?
Yes
No
Friday, January 7th, 2011 AT 4:02 PM
Tiny
TXSHEILER
  • MEMBER
  • 1 POST
  • 2003 SUZUKI AERIO
  • 4 CYL
  • FWD
  • AUTOMATIC
Where is the radio antenna routed? I don't know where the antenna is?
Was this
answer
helpful?
Yes
No
-1
Friday, January 18th, 2019 AT 7:37 PM (Merged)
Tiny
KHLOW2008
  • MECHANIC
  • 41,814 POSTS
Hello,

The radio antenna is located in the rear glass. Check out the diagrams (Below). Please let us know if you need anything else to get the problem fixed.
Was this
answer
helpful?
Yes
No
Friday, January 18th, 2019 AT 7:37 PM (Merged)

Please login or register to post a reply.