HOME
ASK A QUESTION
REPAIR GUIDES
BECOME A MEMBER
LOG IN
Login with Facebook
OR
Remember me
NOT A MEMBER?
FORGOT PASSWORD?
CONTACT US
PRIVACY POLICY
TERMS AND CONDITIONS
☰
Home
Ford
F-150
Drivetrain
Transmission
Gear Selector
Stick shift is very loose even when in gear
MEDAIDE63
MEMBER
2003 FORD F-150
6 CYL
2WD
MANUAL
221,000 MILES
Recently had slave and master replaced, now stick shift is very loose even when in gear, wondering if trans going out?
Monday, January 26th, 2015 AT 3:17 PM
3 Replies
HMAC300
MECHANIC
48,601 POSTS
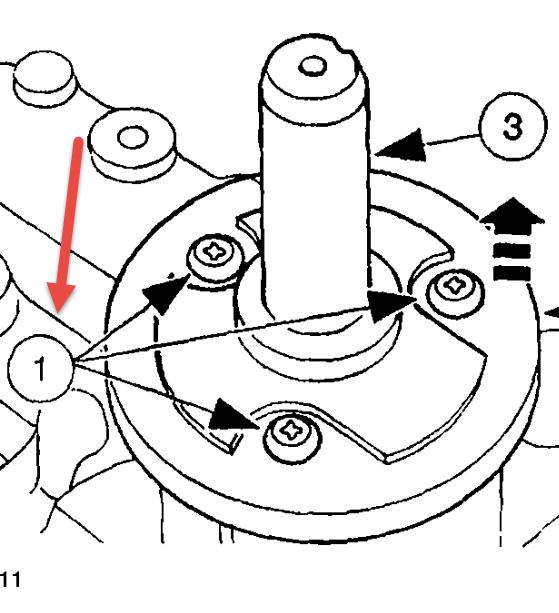
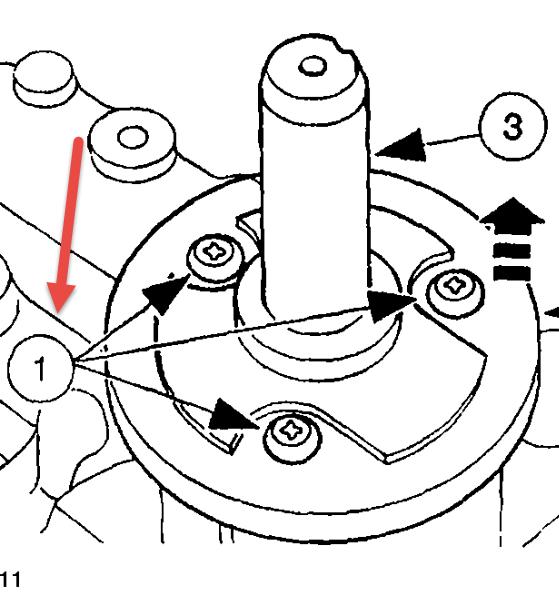
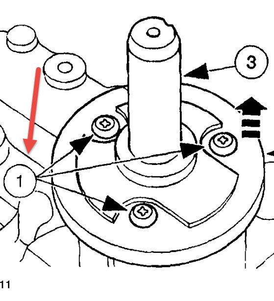
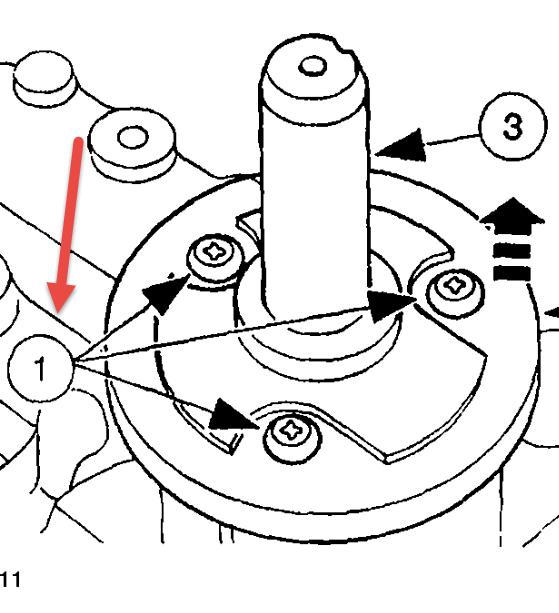
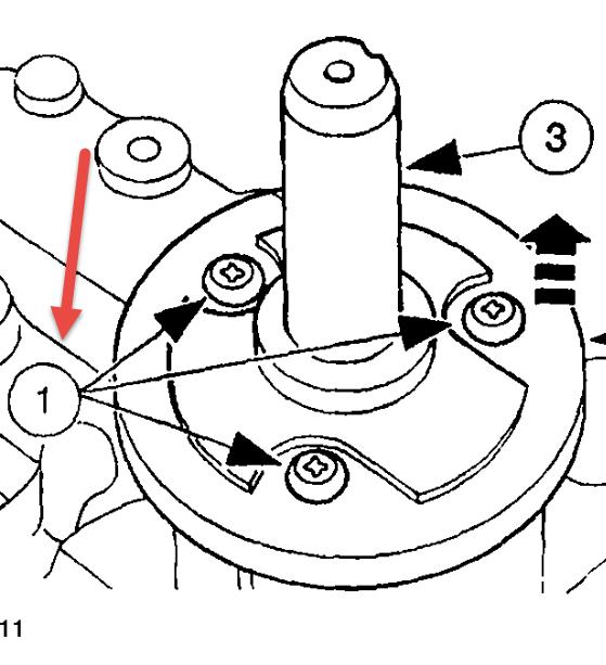
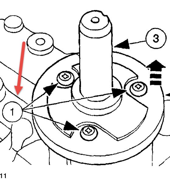
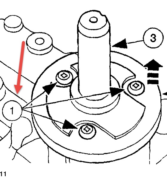
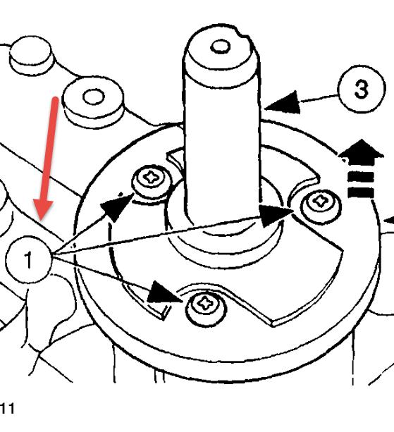
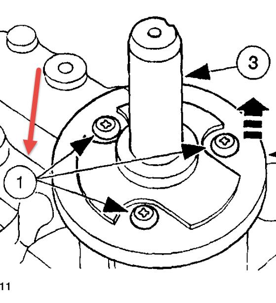
Check to see if bolt holding lever in is loose and bolts on top of trans that may be the problem see pics
Images (Click to make bigger)
Was this
answer
helpful?
Yes
No
Monday, January 26th, 2015 AT 3:31 PM
MEDAIDE63
MEMBER
2 POSTS
Bolts on top tight but bolt holding lever is loose with nut only on one side
Was this
answer
helpful?
Yes
No
Monday, January 26th, 2015 AT 5:03 PM
HMAC300
MECHANIC
48,601 POSTS
Se if you can tighten it that may be your whole problem.
Was this
answer
helpful?
Yes
No
Tuesday, January 27th, 2015 AT 5:52 AM
Please
login
or
register
to post a reply.
Related Transmission Gear Selector Content
2001 Ford F150 Transmission Locked Up?
I Have An 01 F150 Truck. Drove It All Day With No Problems. The Next Day I Started It Up Fine And Started Down The Road. About 5 Minutes...
Asked by
josherin
·
7 ANSWERS
2001
FORD F-150
Transmission Won't Shift
I Just Installed A Rebuilt Engine In My Son's 1996 F-150, Now Transmission Won't Shift Into Any Gear. What Did I Do Wrong?
Asked by
drunge
·
7 ANSWERS
1996
FORD F-150
Transmission Leaking
Trans Is Leaking All Over Exhaust And Smoking And Delayed Gear Shift
Asked by
larrywayne
·
3 ANSWERS
1989
FORD F-150
1988 Ford F-150 4.9l I-6 5 Speed Manual 132,000miles
I Have A 88 F-150 With A Rebuilt Transmission. Overnite A Problem Developed With My Transmission. When I Shift I Can Find 1st And 2nd Gear...
Asked by
BarefootBob88
·
2 ANSWERS
1988
FORD F-150
My Truck Wont Shift Out Of Second Gear
My Truck Wont Shift Out Of Second Gear
Asked by
dakota holtry
·
4 ANSWERS
1995
FORD F-150
VIEW MORE
Ask a Car Question. It's Free!
How to Service the Transmission
How to Service a Manual Transmission - EASY!
Automatic Transmission Replacement