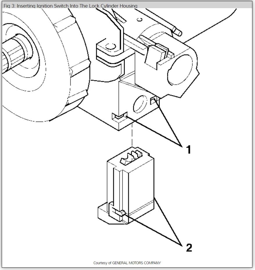
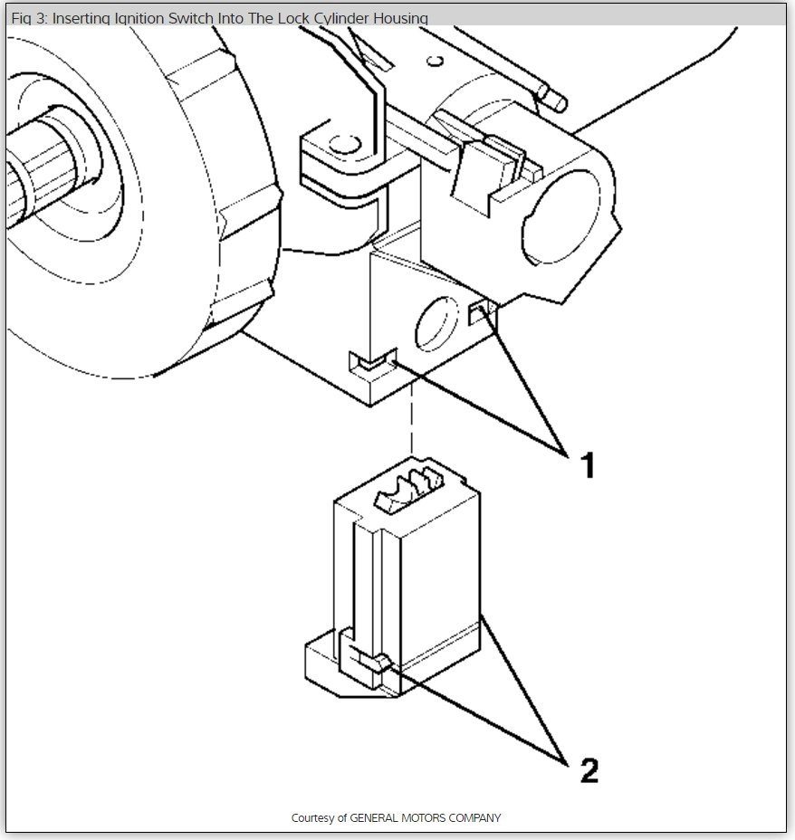
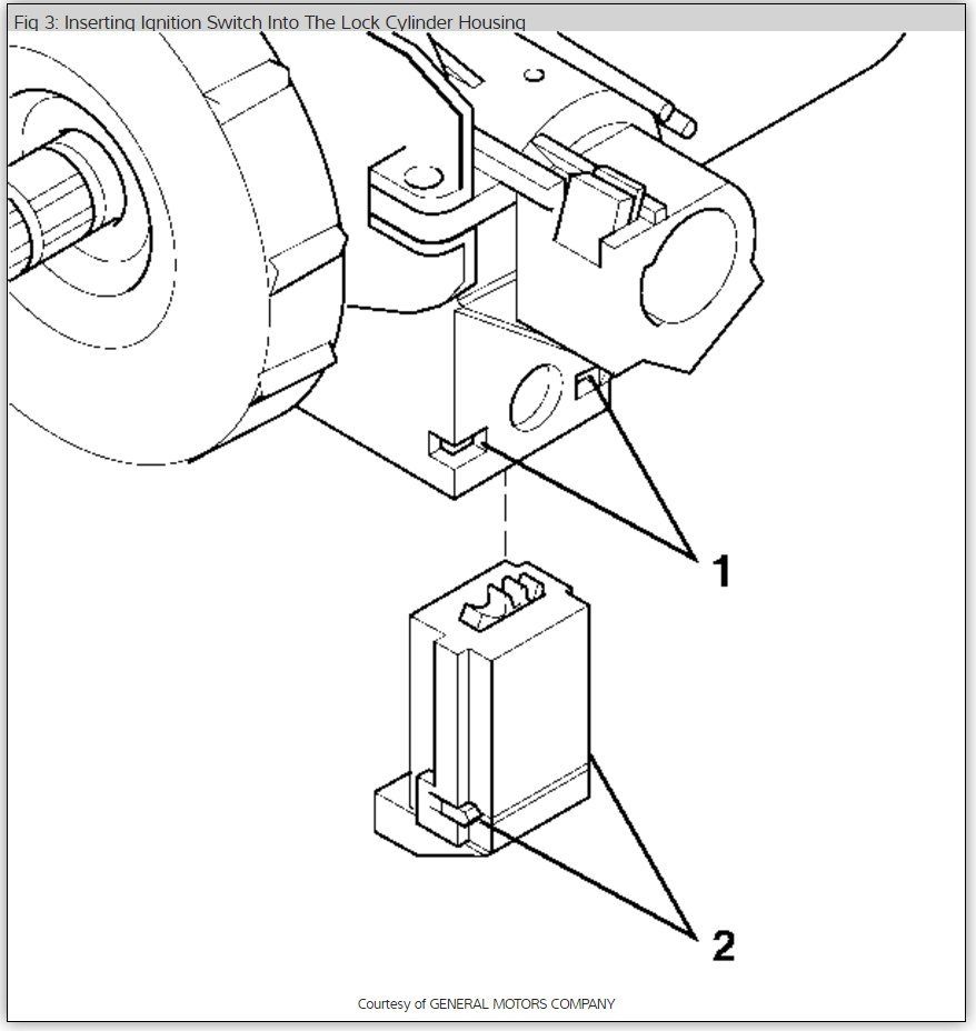
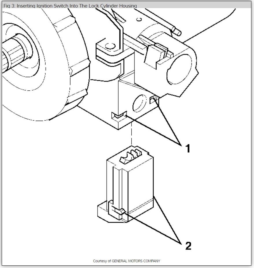
Saturday, July 23rd, 2011 AT 12:29 PM
Key is stuck in the ignition in the on position and will not come out. Steering wheel is not locked and the engine will start when clutch pedal is pressed. Do you have any advice for me to get the ignition off and key out?













