HOME
ASK A QUESTION
REPAIR GUIDES
BECOME A MEMBER
LOG IN
Login with Facebook
OR
Remember me
NOT A MEMBER?
FORGOT PASSWORD?
CONTACT US
PRIVACY POLICY
TERMS AND CONDITIONS
☰
Home
Mercury
Sable
Ignition
Firing Order
Spark plug wiring order
MARCOS7449
MEMBER
2001 MERCURY SABLE
6 CYL
2WD
AUTOMATIC
2001 mercury sable 3.0 24v spark plug wiring diagram
Monday, March 21st, 2011 AT 1:30 AM
7 Replies
RASMATAZ
MECHANIC
75,992 POSTS
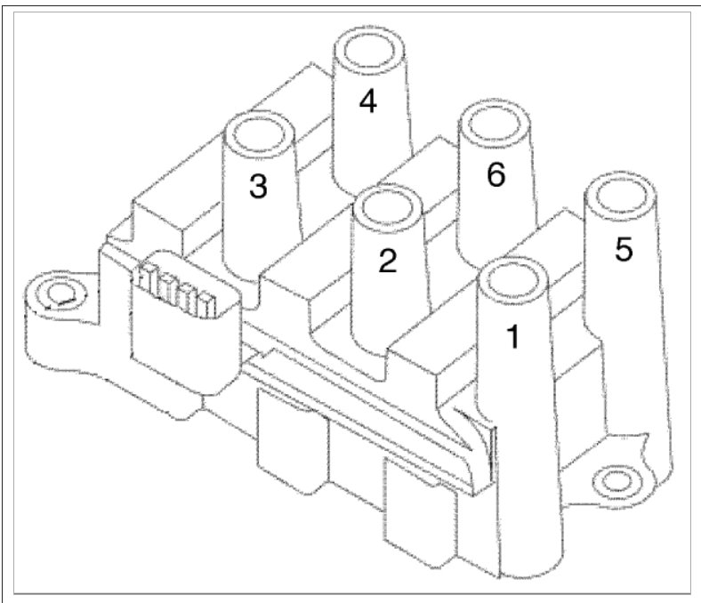
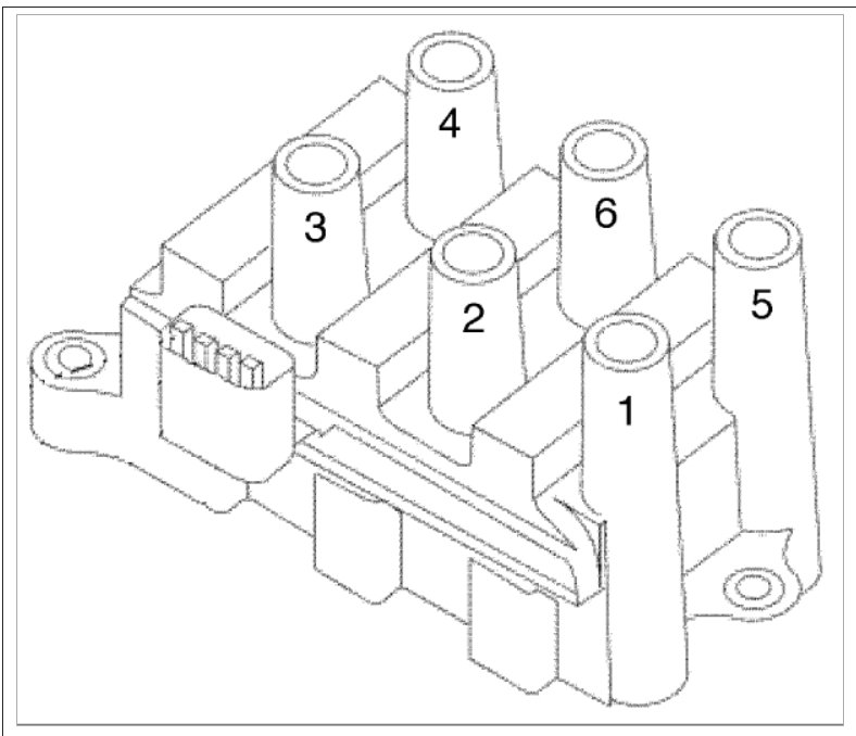
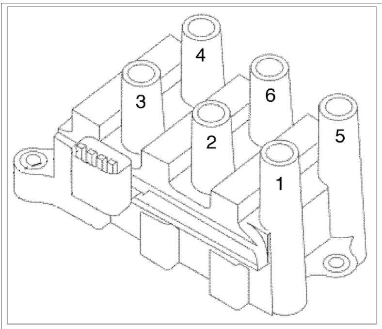
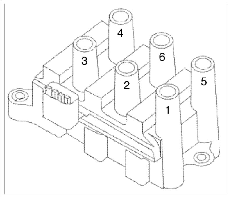
There are two different engine for these firing orders so I gave you both.
Check out the diagrams (Below)
Please let us know if you need anything else to get the problem fixed.
Cheers
Images (Click to make bigger)
Was this
answer
helpful?
Yes
No
+1
Monday, March 21st, 2011 AT 1:43 AM
FOURAM
MEMBER
1 POST
1992 MERCURY SABLE
6 CYL
2WD
AUTOMATIC
100,100 MILES
What is the order and where can I find a diagram
Was this
answer
helpful?
Yes
No
+1
Friday, December 25th, 2020 AT 9:13 AM (Merged)
RASMATAZ
MECHANIC
75,992 POSTS
See below
Was this
answer
helpful?
Yes
No
+1
Friday, December 25th, 2020 AT 9:13 AM (Merged)
GEPIERRE
MEMBER
1 POST
1999 MERCURY SABLE
Engine Performance problem
1999 Mercury Sable 6 cyl Front Wheel Drive Automatic
Can you tell me the Spark Plug firing order for a 1999 Mercury Sable. I took the wire set off and don't know how to replace them correctly?
Was this
answer
helpful?
Yes
No
Friday, December 25th, 2020 AT 9:14 AM (Merged)
KEN L
MASTER CERTIFIED MECHANIC
54,852 POSTS
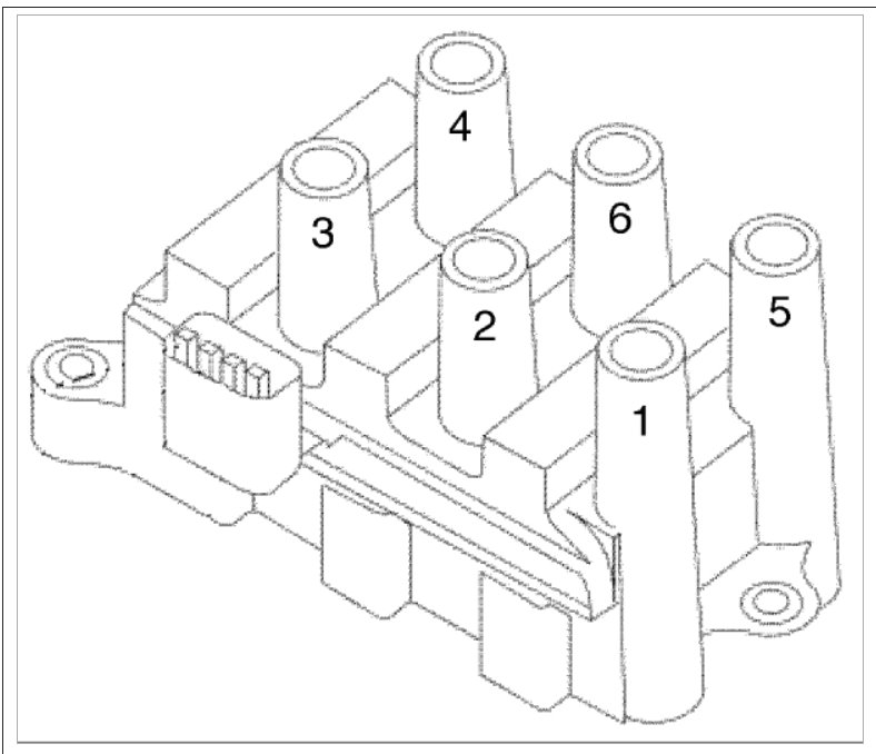
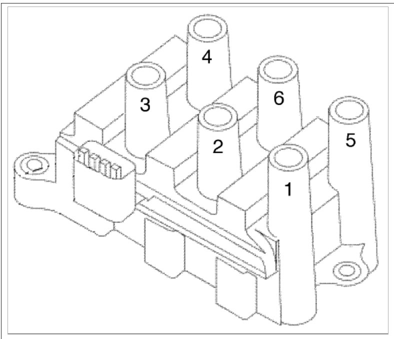
Hey GEPIERRE,
I found this guide for you that shows the firing order and the plug wire location.
Please let me know if you need anything else to get the problem fixed.
Best, Ken
Image (Click to make bigger)
Was this
answer
helpful?
Yes
No
Friday, December 25th, 2020 AT 9:14 AM (Merged)
RUTHLESSCUSTOMWORKS
MEMBER
1 POST
1990 MERCURY SABLE
Engine Performance problem
1990 Mercury Sable 6 cyl Automatic
what is the correct firing order 1990 mercuy sable 3.8
Was this
answer
helpful?
Yes
No
Friday, December 25th, 2020 AT 9:14 AM (Merged)
BMRFIXIT
MECHANIC
19,053 POSTS
Was this
answer
helpful?
Yes
No
Friday, December 25th, 2020 AT 9:14 AM (Merged)
Please
login
or
register
to post a reply.
Related Firing Order Content
No Spark
I Have Troubleshot The Car As Much As I Can. The Fuel Pump Engages (by Having The Ignition Turned To The On Position With My Ear At The...
Asked by
DDG1976
·
17 ANSWERS
2 IMAGES
1997
MERCURY SABLE
Distributor Alignment
How Do I Align My Distributor Rotor To Match The Number 1 Cylinder On My 1989 Mercury Sable 3.0?
Asked by
tyler loshbaugh
·
2 ANSWERS
1989
MERCURY SABLE
1997 Mercury Sable Timing
Engine Performance Problem 1997 Mercury Sable 6 Cyl What Is The Timing Specs For This Vehiclle
Asked by
Bratnewton
·
2 ANSWERS
1997
MERCURY SABLE
Distributer Pick Up Replacement
Need To Know How To Take Off The Metal Plate Which Is Just Above The Pickups On The Distributor.
Asked by
Joann Bonka
·
3 ANSWERS
2 IMAGES
1993
MERCURY SABLE
1999 Mercury Sable Gasket
Hello, I Just Turned My Car On For The First Time In 8 Months But As Soon As I Did The Gasket Broke. I Am Going To Fix It But I Dont Know...
Asked by
mikolinis97
·
2 ANSWERS
1999
MERCURY SABLE
VIEW MORE
Ask a Car Question. It's Free!
Spark Plug Replacement Mercedes Benz
How to Repair an Engine Cylinder Misfire
Spark Plug Replacement - Toyota Prius