2000 GMC C3500 distubrator

Tiny
BIG DENNIE
  • MEMBER
  • 2000 GMC C3500
  • 7.4L
  • V8
  • 4WD
  • AUTOMATIC
How do I set the distubrator in a 2000 GMC 3500 with a 7.4 engine and what's the firing order
Tuesday, February 25th, 2014 AT 7:08 AM

1 Reply

Tiny
OBXAUTOMEDIC
  • MECHANIC
  • 3,711 POSTS
Hello,

The Firing Order is.

1 8 4 3 6 5 7 2

# 1 cylinder is on Front Drivers Side of engine and goes 1 3 5 7

And Front Passenger side starts 2 4 6 8

ok, distributor replacement.

1. Bring cylinder number one piston to Top Dead Center (TDC) of compression stroke.
Fig 1: Bringing Cylinder Number One Piston To TDC Of Compression Stroke

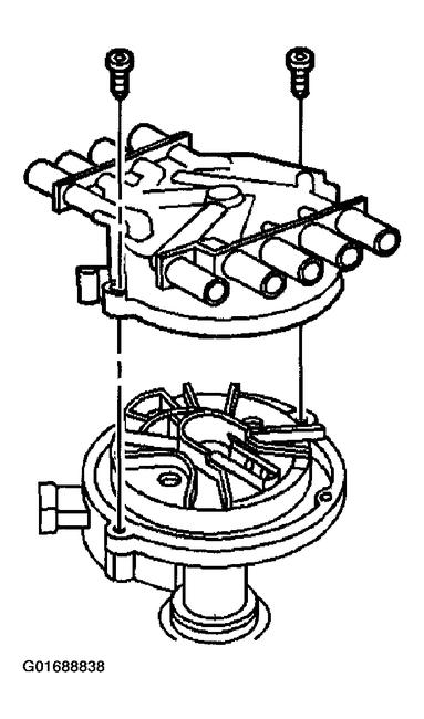
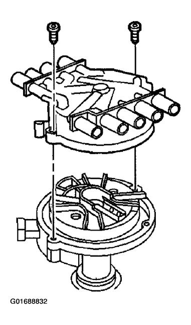
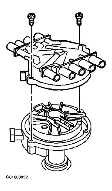
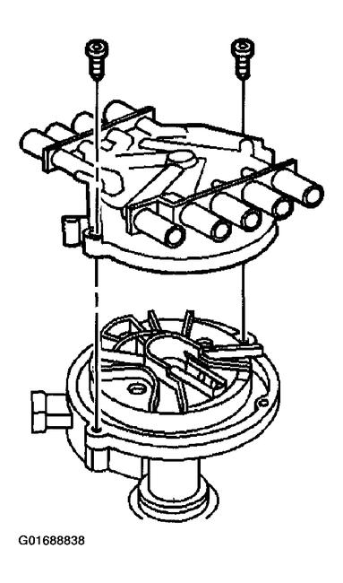
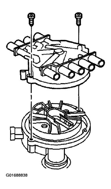
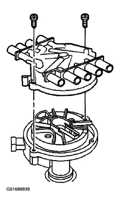
2. Remove the distributor cap bolts.
3. Remove the distributor cap.
Fig 2: Removing Distributor Cap & Bolts

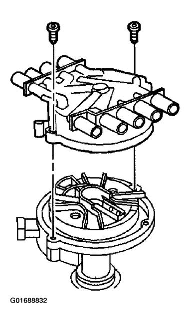
4. Install a NEW distributor gasket onto the distributor.
Fig 3: Installing Distributor Gasket

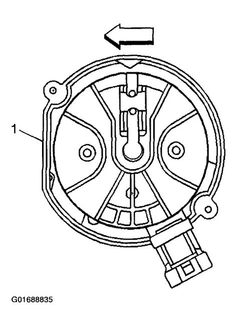
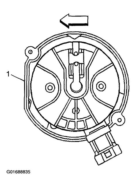
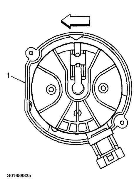
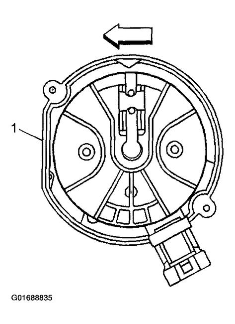
5. Align the indent hole on the driven gear with the paint mark on the distributor housing.
6. Ensure that the distributor rotor segment points to the cap hold area.
Fig 4: Aligning Indent Hole With Paint Mark

7. Align the slotted tang in the oil pump driveshaft with the distributor driveshaft. Rotate the oil pump driveshaft with a screwdriver if necessary.
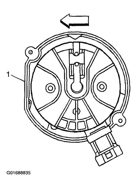
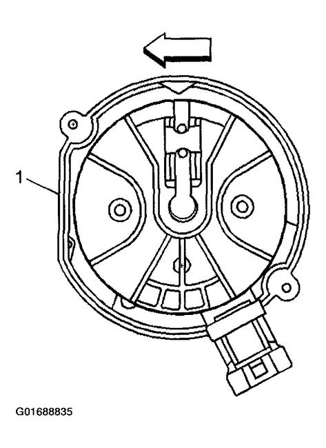
8. Align the flat (1) in the distributor housing toward the front of the engine.
9. Install the distributor and distributor clamp.
Fig 5: Aligning Flat In Distributor Housing Toward Front Of Engine

10. Once the distributor is fully seated, align the distributor rotor segment with the number 8 pointer that is cast into the distributor base.
11. If the distributor rotor segment does not come within a few degrees of the number 8 pointer, the gear mesh between the distributor and camshaft may be off a tooth or more. Repeat the procedure in order to achieve proper alignment.
Fig 6: Aligning Distributor Rotor Segment With Number 8 Pointer

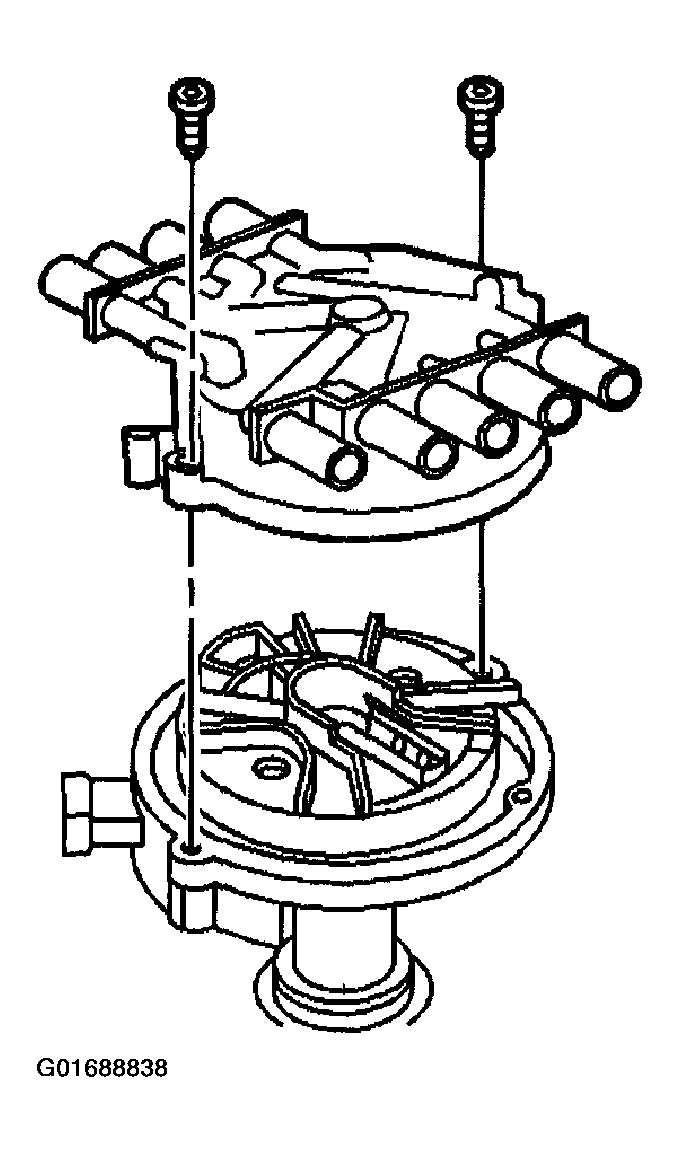
12. Install the distributor clamp bolt.

Tighten

Tighten the distributor clamp bolt to 25 N.M (18 lb ft).
Fig 7: Installing Distributor Clamp Bolt

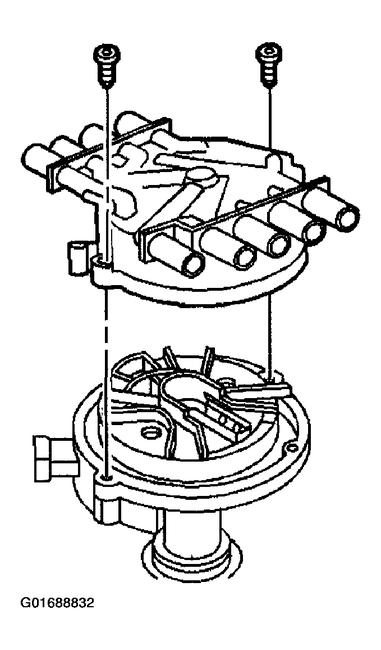
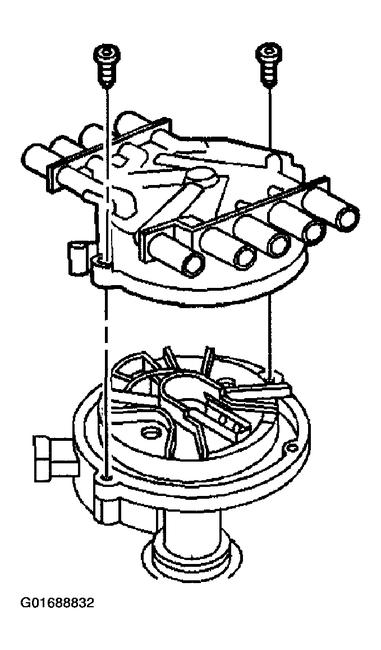
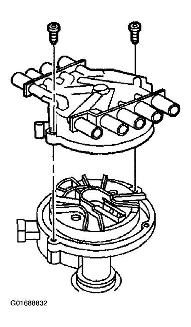
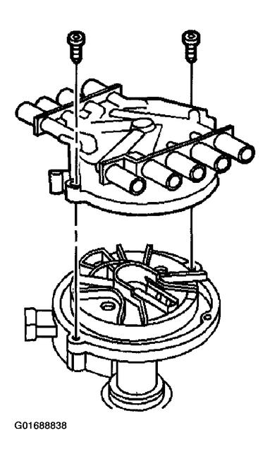
13. Install the distributor cap onto the distributor.
14. Install the distributor cap bolts.

Do not overtighten the NEW distributor cap bolts.

Tighten

Tighten the distributor cap bolts to 2.4 N.M (21 lb in).
Fig 8: Installing Distributor Cap Onto Distributor

15. Install the ignition coil wire harness.
Fig 9: Installing Ignition Coil Wire Harness
Was this
answer
helpful?
Yes
No
+4
Tuesday, February 25th, 2014 AT 7:43 AM

Please login or register to post a reply.