Tuesday, June 26th, 2012 AT 3:50 PM
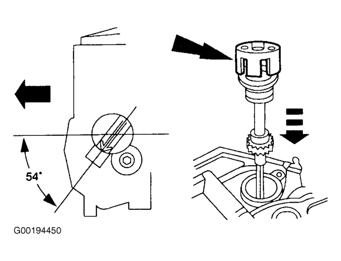
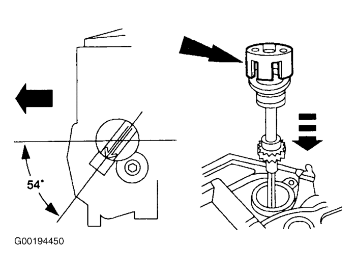
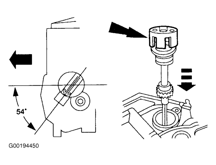
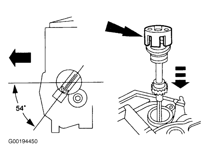
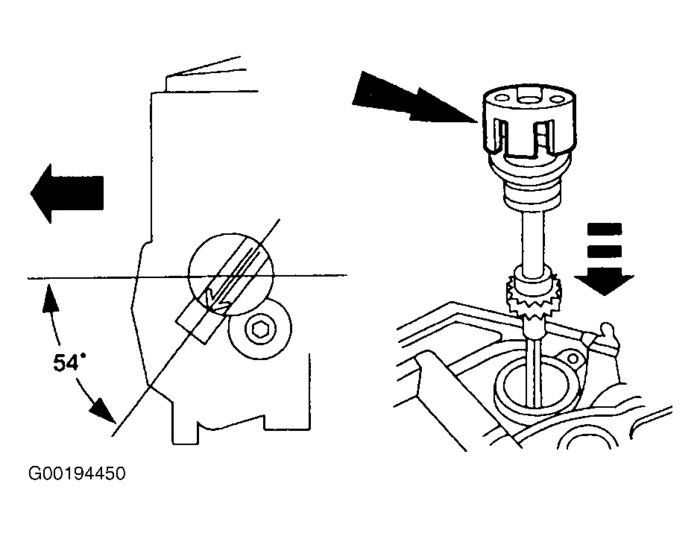
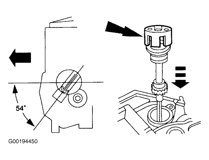
I have a 2000 Ford Ranger with a 3.0 Flex Fuel engine, I recently replaced the cam synchro since it started squeaking and this is a known part to fail for these engines and now the truck backfires through the intake. I followed all the steps correctly that I found online and used the alignment too that came with the synchro. I'm not sure if I'm on the intake or exhaust stroke for tdc, or if it's something as simple as a bad relay. Any help is greatly appreciated.


