Remove a ignition tumbler

Tiny
ANONYMOUS
  • MEMBER
  • 1997 TOYOTA VAN
  • 110,000 MILES
How do you remove a ignition barrel from a Toyota van 1997?
Wednesday, December 12th, 2012 AT 7:11 PM

1 Reply

Tiny
KHLOW2008
  • MECHANIC
  • 41,814 POSTS
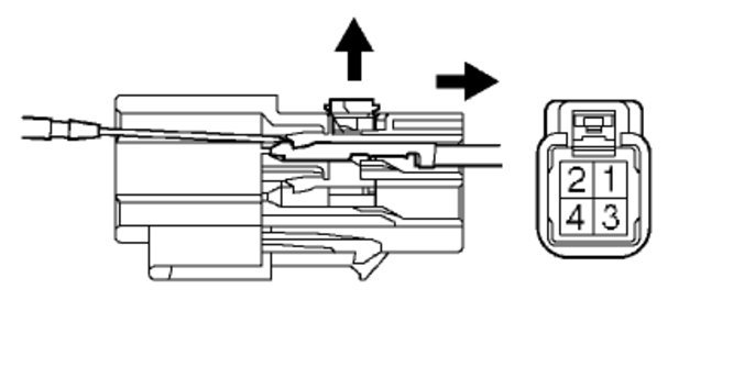
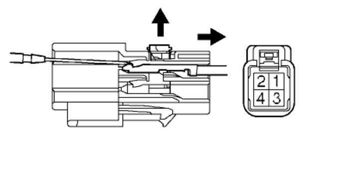
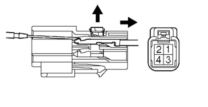
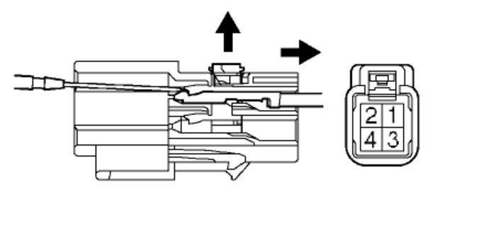
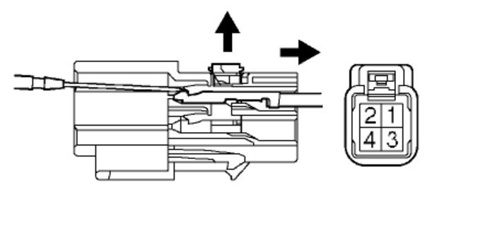
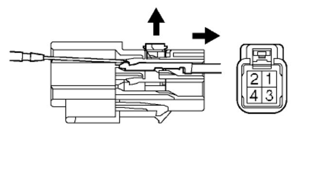
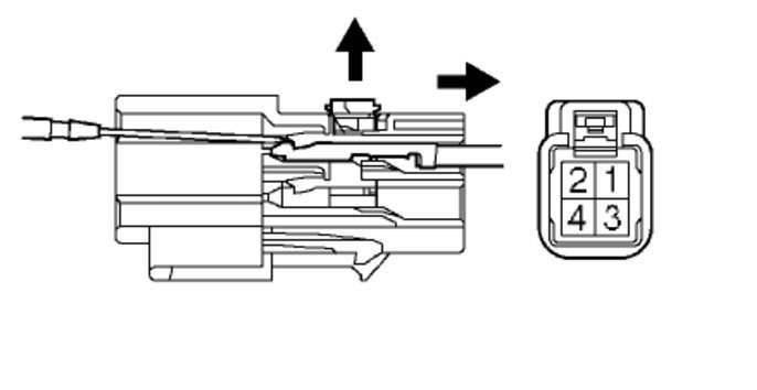
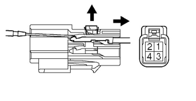
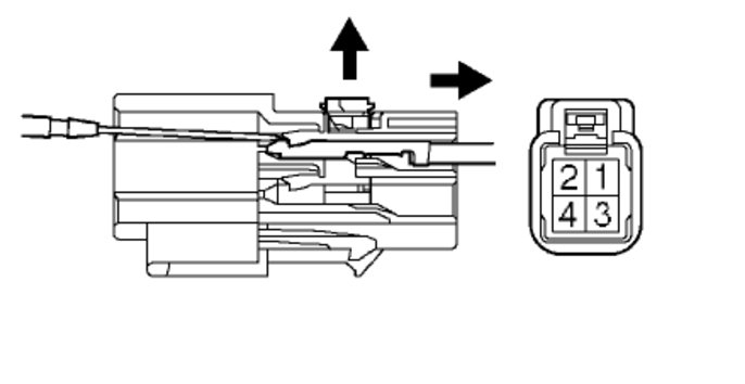
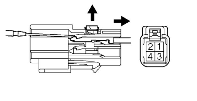
Remove the steering column covers. Turn ignition to ACC. Insert a pointed object to push against the pin on top of lock housing and pull the key out together with the cylinder. Here are diagrams to show you how to do the job.

Check out the diagrams (Below)

Please let us know if you need anything else to get the problem fixed.

Cheers
Was this
answer
helpful?
Yes
No
Wednesday, December 12th, 2012 AT 10:25 PM

Please login or register to post a reply.