Thursday, May 17th, 2012 AT 12:52 AM
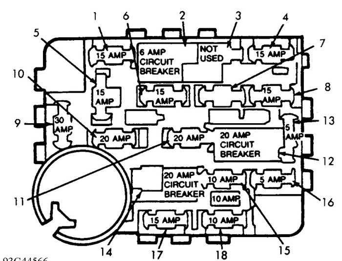
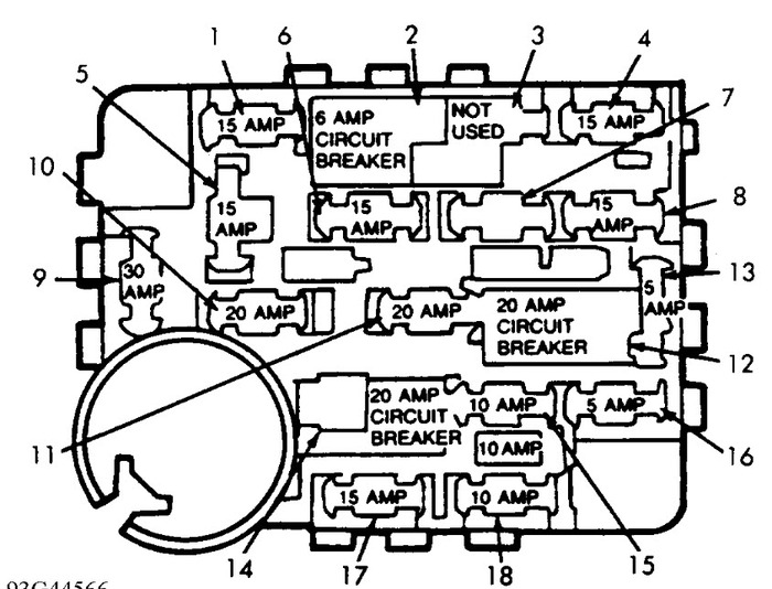
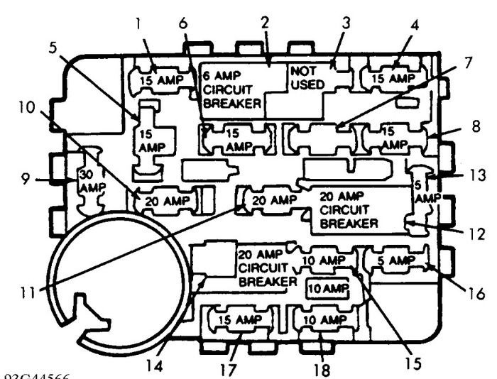
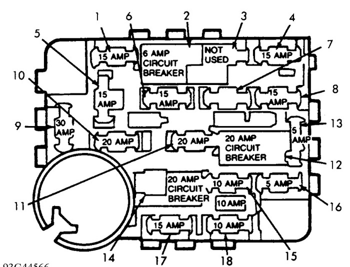
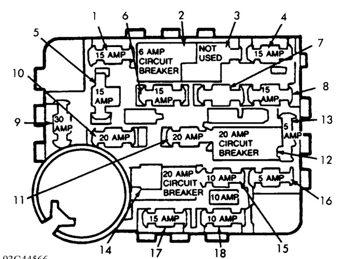
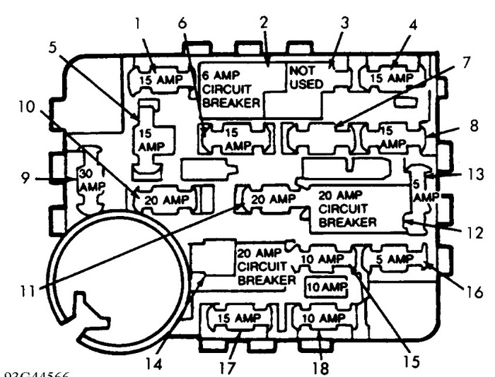
Which are in the car under the dash, anyone have a picture? I'm hooking up an extra lighting system to my car and need to know which line to put it on. I'm hooking it in next to the fuses so I can easily un hook it and change fuses if necessary. (Personal choice) But I don't have an owners manual and need to know which fuses go to what! :) Thanks!



