Timing instructions needed

Tiny
CHZYRIDER
  • MEMBER
  • 1979 LINCOLN VERSAILLES
  • V8
  • 2WD
  • AUTOMATIC
With the dual-level double-ended adjustable rotor design on the EEC-II ignition system on a 1979 Lincoln Versailles with 302/auto-trans, I can set the distributor down on either of two gear-teeth and still line up the rotor to the alignment slot on the distributor housing by rotating it to one side or the other.

I have the engine at TDC compression stroke (indicated by compression gauge) and confirming my manually checking for TDC with a pencil in the spark plug hole. Yet it seems to be aligning in-between two teeth. I have the rotor facing the right direction as it has an alignment slot on one end to correlate with the alignment slot in the distributor housing.

My books do not indicate anything further, assuming it's going down on the correct tooth to align the rotor, but the rotor is moved fully over to one side or the other direction within the screw slots allowing the rotation to align on either tooth.

I can either place the distributor down on one tooth and rotate the rotor advanced (counterclockwise) to align with distributor housing, or the next tooth (advanced counterclockwise direction) and rotate the rotor clockwise (retarded) to align.

It aligns either way, but only one. Or neither is correct.
Which way is correct?

Does it need to be at a different engine degree rotation for proper distributor placement and rotor alignment? The under-hood sticker indicates timing at 30 degrees (non-adjustable).

Could the timing chain have possibly jumped or be off a tooth or more?

The engine and carb had been previously rebuilt and could not get it running again so it sat for some time. Now I am wanting to confirm the timing and eliminate that potential as a reason why it won't start again. I have other variable venturi carburetor related questions, but I will keep that separate and address that after this timing issue is resolved.

Most people in various forums have all been saying to give up on this car and either do an updated carb & ignition system swap, or sell the car as-is. Well, I don't just quit because something is hard, it's a challenge!

Will considered paid answer if no reply.
Tuesday, July 12th, 2011 AT 8:03 PM

6 Replies

Tiny
CHZYRIDER
  • MEMBER
  • 9 POSTS
Here a photo showing the position of the rotor relative to the distributor shaft according to the alignment of the screws securing the rotor.
Was this
answer
helpful?
Yes
No
Sunday, July 31st, 2011 AT 8:41 PM
Tiny
BENZ220SEB
  • MEMBER
  • 1 POST
I have the same year and make of Lincoln. 302V8 etc venturi throttle body injection (carburetor) Very 'particular' car to say the least. I run my distributor rotor (timing) as far advanced as possible. It says 'cannot be timed on housing" but it can be painstakingly as you know with the screws on the rotor. Good luck
Was this
answer
helpful?
Yes
No
+1
Saturday, August 20th, 2011 AT 7:16 AM
Tiny
FIXITMR
  • MECHANIC
  • 9,990 POSTS
Did you solve it yet?
Was this
answer
helpful?
Yes
No
Saturday, October 22nd, 2011 AT 9:01 AM
Tiny
CHZYRIDER
  • MEMBER
  • 9 POSTS
Solved? No, not yet.
I have not received any convincing definitive answers in posting this same question on multiple forums. I've got plenty of reccomendations to try to sell the car as-is non-running, keep cranking it trying to start it with it as-is (with carb issue as well requiring this to be correct first), or to simply replace the ignition system with another type (perhaps with that magic money from the tree in thier back yard). Yet no, in all this time there is still no convincing answer or explanation for the misalignment seen at the distributor.

It's been a long befuddling battle to figure out this ignition and cam timing with limited access for inspection, and limited information even with factory books.

Here are what details have been concluded so far:

Determining Compression Stroke â€
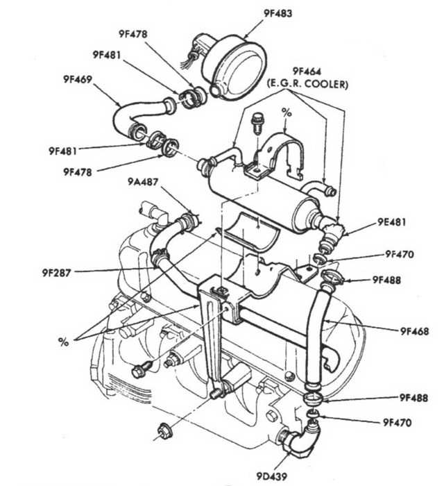
Access to visually confirm int/exh valve movement at #1 cyl is blocked by EGR cooler system.
Passenger side spark plugs (1-4) removed for easier engine turning by hand.
Confirmed piston movement at top of stroke at TDC using probe in #1 cyl plug hole.
Confirmed air flow when checking with finger in #1 plug hole as approaching TDC.
Getting 10psi on gauge at #1 cyl as approaching TDC when hand turning engine at crank.
Presumed to be set on compression stroke according to gauge and finger test.

Timing Chain â€
New set installed when rebuilt, not stretched or worn.
Dots on timing gears line up facing each other at TDC on presumed compression stroke.
Cam gear has 42 teeth with 8.57* tooth angle.
Crank gear has 21 teeth with 17.14* tooth angle.

Distributor / Rotor â€
Distributor housing will not rotate to adjust timing, rotor must be pre-set to alignment.
Shaft is solid, no advance mechanism.
Shaft/Rotor sets down approx 12-15* to either side of specified alignment on dist. Housing.
Rotor has screw slots allowing for some alignment adjustment either direction.
Rotor will barely align when shaft is set down on either †advanced’ or †retarded’ tooth.
Rotor is at extents of slots to rotate and align on either tooth choice, rather than mid-area.
Shaft will nearly align to center on relative cam tooth at 30*, both before and after TDC.
Shaft will align exactly to opposite side of distributor at 180*. *See photo.
Shaft driven gear roll pin is good, and shaft driven gear cannot be reversed.
Shaft driven gear has 15 teeth with 24* tooth angle
Presuming cam drive gear has 30 teeth with 12* tooth angle.

Camshaft â€
Sealed Power #CS1008R [replaced by #CS1158R] Performance Camshaft; 302 firing order; Pro-1500 Perf. Cam; Hyd; Hydraulic; (050) Duration at.050 Lobe Lift; 204 Exh; 194 Int; 110 Degrees Lobe Separation; 0.448" Exh. Valve Lift; 0.424" Int. Valve Lift

****
So, with the most obvious things not appearing to be wrong at this point, I am left to suspecting some perhaps far-fetched possibilities. Some are doubtful, but still possible so I need to verify (if I can find the info) and eliminate these suspicions as I am not yet convinced this is the correct way that this vehicle’s timing is supposed to be pre-set before attempting to start engine.

Suspicions yet to resolve:

Could the distributor shaft driven gear been put on the shaft backwards from the factory?
Or could the pressed-on rotor mounting plate be on the shaft backwards from the factory?
If rotated 180*, the crest of a driven gear tooth should fall in a 'valley' between teeth on the cam gear aligning exactly with mark on distributor housing, but currently, that same cam tooth is making the shaft driven gear fall to either side of that mark, which is what I have been seeing all along.
-I have yet to physically compare to another similar distributor to confirm or eliminate this.

Could what air flow I'm feeling at the #1 plug hole as the piston comes up. Be fooling me if cam is actually at 180* off? The cam specs are a bit confusing yet for me to determine; If cam is 180* out, would the valves opening/closing opposite of normal still cause this air flow?

The reversal should put the distributor shaft and rotor directly facing the alignment mark.
-Can the cam be rotated 180* in this engine to fix (or try-n-see)without damaging valves while lifters are still under spring load?. If not already possibly damaged if 180* off?

I’ve encountered manufacturing/Q-C./Packaging errors before with timing sets & other parts. How likely could it be that the aftermarket cam timing gear alignment pin hole may be off? Or how likely could the pin on the cam or perhaps the cam drive gear may be machined that much off alignment and creating the issue seen with the distributor shaft placement on the cam drive gear at TDC?
-I doubt this one, but it's still possible.

Hey Benz220SEb, if you get notice of this. Can you please check your car for shaft/rotor alignment at TDC for me? Having another similar comparison would be so very helpful! Post a photo if you can looking down on the rotor showing the screws as best as possible to indicate the true shaft alignment relative to the housing. Perhaps this truly is the way it was set up at the factory.(?)

I need the "pros" to chime in on this one.
Was this
answer
helpful?
Yes
No
Monday, February 11th, 2013 AT 11:47 AM
Tiny
CHZYRIDER
  • MEMBER
  • 9 POSTS
Added note & Another question.
EGR cooler shown in illustration is in the way of accessing valve cover to visually confirm valve movement and positively confirm compression stroke. It is secured by non-replaceable crimp clamps and conical seals.

Removal of cooler requires disconnecting these clamps. Or by completely removing the EGR valve, carburetor base adaptor, egr cooler with piping, and passenger side exhaust manifold all as one complete piece for access. So I have been avoiding this dreaded task and trying to confirm otherwise.

The driver's side valve cover is almost as difficult to access, but still somewhat easier.
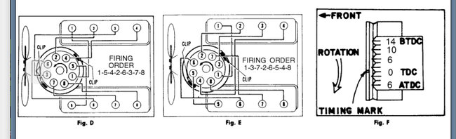
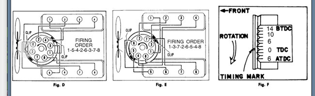
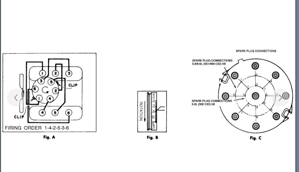
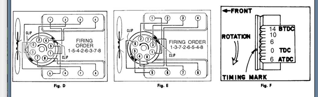
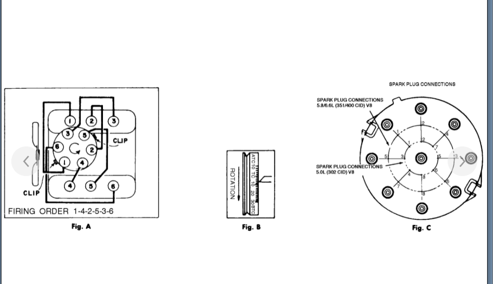
Firing order is 1-5-4-2-6-3-7-8, and rotor is pointing at #6 on distributor cap when at 180*.
Can I check #6 valve movement on the opposite side to verify for compression stroke and confirm if on the correct TDC stroke for that cylinder instead of the same process at #1 due to limited access?
Was this
answer
helpful?
Yes
No
Monday, February 11th, 2013 AT 12:13 PM
Tiny
KASEKENNY
  • MECHANIC
  • 18,907 POSTS
Just to take a step back. When you are starting the engine, I suspect you are getting a no start or a possible backfire? It just does not say what the actual issue is that you are trying to correct.

However, due to the painstaking care you have taken with this distributor I suspect you are not getting the engine to run properly.

If that is the case then I would suggest setting the timing on TDC on piston one just like you are. Then to confirm the timing is 180 out, just swap the plug wires around on the distributor cap so they on the opposite side. Meaning if the timing is 180 out then the plug should actually be firing on 6 and not 1. So moving them on the distributor will prove this out.

I attached the info below on how to do this.

If that does not get it started then advance the distributor as far as it can go and see if the engine will start.

Lastly I think getting a video of what is happening when you try to start the engine would be helpful. That will help get us on the same page.

Please see the info below and let us know what you find with this.

Thanks
Was this
answer
helpful?
Yes
No
-1
Saturday, September 4th, 2021 AT 5:42 PM

Please login or register to post a reply.